【市民云资讯】@闵行人 疫情防控期间,闵行区物资保障、便民服务热线、云买菜一览→
为全力做好疫情防控工作,有效减少人员聚集,满足疫情期间居家生活和就医服务需求,切实保障人民群众生命健康和安全,现将闵行区疫情防控期间为民服务热线电话公告如下:
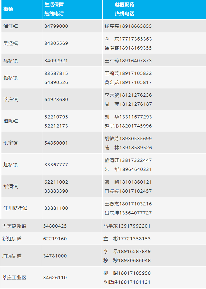
各街镇(莘庄工业区)
服务热线电话
区级服务热线电话区城运中心服务热线电话:962000
请大家做好疫情防护措施,共同守护我们的家园,感谢您的理解和支持!
闵行买菜攻略
江川路街道(3月22日更新)
3月21日起,江川路街道开始启用推广“快团团”小程序。目前,“快团团”上已有5个团购套餐可供选择。街道成立“生活物资保障供应指挥中心”,即将开通24小时咨询热线18116483209。订购专线一小区一门电话,以各居委提供为准。莘庄镇(3月22日更新)
从今天(3月22日)起莘庄镇新增“快团团”线上接单模式,为本镇居民提供基本生活物资的采买配送服务。每日下午2点统一截单,超过截单时间一律不接受任何退单申请。通过“美丽莘庄”微信公众号“莘服务”菜单栏点击“买菜”下单付款,一般次日送货至小区门口指定位置,由居委通知后自取(封控楼栋由小区志愿者提供上门服务)。美丽莘庄电商平台
吴泾镇(3月22日更新)
吴泾镇域内6家农贸市场、商超推出果蔬禽蛋套餐,可通过小区集中订购、统一配送,请联系物业咨询;此外,沪华大酒店还可提供热餐外卖,酒店周边居村可订餐团购。
目前吴泾镇已上线保供应买菜线上平台,长按识别小程序进入。3月23日正式开团,每天下午2点统一截单,一般次日送货至小区门口指定位置。新虹街道(3月22日更新)
从今天起新虹街道新增“快团团”线上接单模式,涵盖爱博菜场、麦德龙、百联等线上购买渠道,为辖区居民提供基本生活物资的采买配送服务。
购买方式:3月22日正式开团,于每日下午5点统一截单。一般次日上午送货至小区门口指定位置,居民接到取单通知后自取(封控楼栋由小区志愿者提供上门服务)。可关注“筑梦新虹”微信号,点击“买菜”专栏,一键直达麦德龙、百联、快团团等链接。浦江镇(3月22日更新)
永辉社区go由浦江镇与永辉超市联合开发,主要提供定制套餐的预约下单及配送服务,定制套餐下单后,配送将由永辉超市物流在第二天配送至小区门口(具体时间等居委或物业通知),由本小区志愿者组织引导取货。注意:当日16:00前完成订单预约(3月21日延迟至18:00前),次日完成配送;支付时,在备注栏中填写完整地址信息,如:浦江镇**路**弄**小区*号楼***室,便于统计和精准发货。
“疫起买菜”小程序是家乐福在疫情期间推出保障服务平台。主要提供定制套餐的预约下单及配送服务,目前已将浦江镇全域纳入配送范围。长按识别二维码可进入选购。华漕镇(3月22日更新)
华漕镇闭环管理的居民如有买菜需求可与居村委会联系,每天上午下单,由居村委会负责统一对接,集中采购。为方便居民订购,线上采购平台也即将上线。订购成功后,蔬果合作社将于次日下午配送至社区门口,具体时间视物流情况而定。送至社区后,由居村委会统一收货理货,非封控人员做好个人防护前往指定地点领取,封控人员由志愿者分送。
本地绿叶菜共3个品种,每个品种2斤,生菜、 菠菜、青菜、茼蒿、芹菜等,具体品 种根据生产情况随机搭配。温馨提示:份量为预估量,菜品同等价值下以实际配送为准。
古美路街道(3月22日更新)
古美路街道与辖区多家菜场合作上线送菜服务,即日起广大居民朋友们可以居家订购生鲜,一键免费送货上门。此外,居民还可以在农工商超市、家乐福超市、联华超市龙茗店、麦德龙卖场、盒马鲜生、尚优生鲜超市、世纪联华超市等线上渠道订购,配送到小区门口。颛桥镇(3月22日更新)
3月22日,颛桥家园电商平台正式上线,将为居民们提供粮油米面、预制菜品、肉禽蛋来的配送服务。平台还可提供盐焗鸡、白切鸡等熟食及上海熏鱼、糖醋里脊、外婆红烧肉等一批预制菜品。服务热线:400-021-1717(其他购买信息请看大图)浦锦街道(3月22日更新)
惬意浦锦
浦锦街道保供专班队伍与华润万家达成合作,正抓紧开发“浦锦地区集采分送小程序”。配送覆盖浦锦地区所有居委,每个居委都有专属二维码和链接入口,居民自主扫码进入小程序下单,初定上线6种套餐。以居委为单位统一汇总订单,由华润万家的工作人员按需配送到点位。(具体信息请关注“惬意浦锦”微信公众号)莘庄工业区(3月22日更新)
莘庄工业区多种方式保障居民生活物资供应:在所有小区设置便民服务点位,与上海新弘生态农业公司等单位合作,以直供的方式为小区定点提供50元、100元等标准套餐;每日定时临门设摊,价格公开;通过“百联到家”微信小程序进行网上订购;针对困难群众提供电话1对1服务。以上采购方式覆盖工业区所有居委。(具体信息请关注“上海市莘庄工业区”微信公众号)马桥镇(3月20日更新)
“快团团”微信小程序“古藤马桥电商平台”正式上线。小程序目前提供20种套餐,价格从12元-118元不等,涵盖蔬菜、豆制品、猪肉、家禽、鸡蛋、牛奶、水果、粮油等,当日16点截单,次日配送至社区门口货架,闭环管理楼栋则由志愿者配送上门。虹桥镇(3月22日更新)
虹桥镇选取了家乐福、华润万家等有稳定货源和物流配送能力的特约供应商,为全域内居民提供安心套餐服务。正式上线2天的“疫起买菜”APP小程序,累计接单3300多单,营业额达到15万。今天将上线华润万家、快团团等专供虹桥区域的小程序。梅陇镇(3月20日更新)
梅陇对接镇内大润发、家乐福、好又多等超市,提供了包含蔬果菜肉在内的多种套餐,居民可与所在社区对应的超市联系下单。七宝镇(3月19日更新)
3月19日起,华润万家推出团购微信小程序,为七宝170多个小区免费配送生鲜食品。同时,还增加了鲜肉套装、水果套装、调料套装和油米套装等,为居民提供更多选择。需要购买的居民,可在居委引导下入群,群内会发布购买链接。重要提示
当前供应需求较大,部分购买渠道可能会发生暂时无法下单或电话无法接通的情况,可隔一段时间再尝试下单。
家乐福“疫起买菜”小程序可配送至虹桥镇、江川路街道、浦江镇、古美街道和吴泾镇全区域。详见:虹桥“云买菜”攻略2.0!扫码小程序,食材送到家(点击查看)
如果以上方式都无法买到菜,或者有其他特殊需求,请及时告知您所在居、村委具体情况,居村委和相关部门会尽力为您协调解决!
▂▂▂▂▂▂▂▂▂▂▂▂▂▂▂▂▂▂▂▂▂▂▂▂▂
我要做核酸检测,要如何登记?
有核酸检测需求的市民,可实名登录“随申办市民云”APP在线登记核酸服务。
操作步骤:
登录“随申办市民云”APP→搜索关键字“核酸”→点击“核酸检测”进入服务页面→点击“核酸检测登记”→点击“个人检测登记”:

核酸检测站点查询、核酸检测在线登记(可代登记)、核酸结果查询(可为家中老人和孩子查询)……
根据页面要求,填写个人信息并提交后,即可获取“核酸检测”预约二维码。
点击二维码下方的“查看所有采样点”或“预约采样点及时间”,即可查看本市支持“核酸检测”点信息。

核酸检测站点查询、核酸检测在线登记(可代登记)、核酸结果查询(可为家中老人和孩子查询)……
选择确认核酸检测点后,点击“预约”进入服务界面,确认核酸检测时间与地点后。

核酸检测站点查询、核酸检测在线登记(可代登记)、核酸结果查询(可为家中老人和孩子查询)……
支付核酸检测费,即可完成预约操作。

核酸检测站点查询、核酸检测在线登记(可代登记)、核酸结果查询(可为家中老人和孩子查询)……
▂▂▂▂▂▂▂▂▂▂▂▂▂▂▂▂▂▂▂▂▂▂▂▂▂
如何为非本人代登记核酸检测?
如非本人登记,请选择【非本人】,填写被登记人详细信息
(对于外籍人士、港澳台同胞、华侨可选择相应证件或选择“其他”证件)

核酸检测站点查询、核酸检测在线登记(可代登记)、核酸结果查询(可为家中老人和孩子查询)……
如被登记人暂未就业,请填写“暂无单位”并点击确定

核酸检测站点查询、核酸检测在线登记(可代登记)、核酸结果查询(可为家中老人和孩子查询)……
▂▂▂▂▂▂▂▂▂▂▂▂▂▂▂▂▂▂▂▂▂▂▂▂▂
如何查询核酸检测报告?

核酸检测站点查询、核酸检测在线登记(可代登记)、核酸结果查询(可为家中老人和孩子查询)……
▂▂▂▂▂▂▂▂▂▂▂▂▂▂▂▂▂▂▂▂▂▂▂▂▂
如何帮助家中小孩、老人查询核酸检测结果?
登录“随申办”APP→点击首页的“核酸查询”进入服务页面→点击“老幼核酸助查”→输入老人/孩子的姓名、身份证号码→点击“查询”即可显示最近一条核酸结果;

核酸检测站点查询、核酸检测在线登记(可代登记)、核酸结果查询(可为家中老人和孩子查询)……
▂▂▂▂▂▂▂▂▂▂▂▂▂▂▂▂▂▂▂▂▂▂▂▂▂
如何查询核酸检测点信息?
登录“随申办市民云”APP,点击首页“核酸检测”进入服务页面→点击“核酸检测点查询”即可查询当前支持做核酸检测站信息。

核酸检测站点查询、核酸检测在线登记(可代登记)、核酸结果查询(可为家中老人和孩子查询)……
上海各区核酸检测服务点
详见↓
核酸检测站点“宝藏”共享文档
成为上海市民前往检测前的“参考文献”
点击下图可打开该文档

上海各区生活物资及就医保障联系方式在线查询
点击下图,进入查询服务页面↓

▂▂▂▂▂▂▂▂▂▂▂▂▂▂▂▂▂▂▂▂▂▂▂▂▂
作为上海“一网通办”总门户移动端——“随申办市民云”APP积极相应国家号召,于8月3日正式上线“防疫工具包”专区服务!为“抗疫战线”提供便民防疫服务!
自此以后,大家所关心的医院停开诊查询、核酸检测登记、查询核酸结果、新冠疫苗接种点、出示行程卡等多种“防控防疫”功能服务,不用再来回切换多个APP或扫描N个二维码小程序,只需通过“随申办市民云”APP的“防疫工具包”应用服务,即可统统都搞定!

全市新冠疫苗接种点查询、疫苗接种在线预约和结果查询、展示行程码&随申码、核酸检测结果查询……
在“防疫工具包”服务专区中,为市民提供四大板块内容:
一、防疫防控服务:
*医院停开诊查询
*随申码
*通信行程卡
*随申码·场所
随申码、行程码,两码展示无需打开多个APP,用“随申办”APP“随申码”点击页面下方的“行程码”即可

全市新冠疫苗接种点查询、疫苗接种在线预约和结果查询、展示行程码&随申码、核酸检测结果查询……
二、核酸检测服务:
*核酸检测结果
*核酸检测登记
*核酸检测点查询
市民可为个人及家人代登记核酸检测,并在线查看个人及家人的核酸检测报告

全市新冠疫苗接种点查询、疫苗接种在线预约和结果查询、展示行程码&随申码、核酸检测结果查询……
更多“防疫工具”上“随申办”APP都可约、可查!
(00:41)三、新冠疫苗服务:
*新冠疫苗预约
*新冠疫苗接种记录
市民可为个人或未成年人,登记预约新冠疫苗接种。并支持在线查看个人的疫苗接种记录。

全市新冠疫苗接种点查询、疫苗接种在线预约和结果查询、展示行程码&随申码、核酸检测结果查询……
更多“防疫工具”上“随申办”APP都可约、可查!
(00:14)四、便民服务:
*网上问诊
*挂号预约
*发热门诊
*信用就医
多个“防控防疫”便民服务都会在专区呈现。

全市新冠疫苗接种点查询、疫苗接种在线预约和结果查询、展示行程码&随申码、核酸检测结果查询……

全市新冠疫苗接种点查询、疫苗接种在线预约和结果查询、展示行程码&随申码、核酸检测结果查询……
最后,“随申办市民云”APP友情提醒上海市民:
“非必要不离沪”,出于防疫需要,尽量减少人员流动。
离沪不忘防疫法宝,以“事前、事中、事后”的全程管理理念,做好出行前、路途中、回家后的健康防护功课。切勿心存侥幸!做好个人防护!
文章内容和配图来源于|今日闵行官方微信、随申办APP。转载和授权请联系原作者

