孩子王闯港股解流动性“近渴”,高商誉与弱盈利“远忧”何解?
近日,国内母婴零售企业孩子王(301078.SZ)正式递交港股上市申请,寻求构建“A+H”双融资平台。表面看,似乎是其国际化战略与业务拓展的重要一步,但细究其近期财务轨迹,这一动作背后的紧迫性,远大于战略性。
尽管招股书显示其2025前三季营收与净利双增,但公司负债规模与商誉亦同步大幅攀升,而销售净利率亦长期徘徊于3%左右的低位。在高负债压力下,赴港上市究竟是为了拓展业务版图,还是为缓解流动性难题而“紧急输血”?
此前募集资金用途转向,商誉高增下再融资合理性存疑
自2009年创立至今,孩子王已走过十六个年头。回顾其资本市场轨迹,孩子王早在2016年就以“母婴零售第一股”登陆新三板,市值一度冲高至167亿美元。然而,由于新三板存在融资功能相对有限等情况,公司已于2018年4月摘牌退市。
孩子王后来于2021年10月在A股创业板上市,当时计划首发募资24.49亿元,实际仅募得6.28亿元,与预期存在巨大缺口。更值得关注的是,上市后公司的盈利表现并未因资本的注入而改善,反而持续走弱,2021年归母净利润同比下滑48.44%至2.02亿元,此后连续两年下滑,至2023年归母净利润仅为1.05亿元,扣非净利润低至0.63亿元。

数据来源:同花顺
尽管近期业绩有所回升,但这一改善似乎主要依赖外延并购支撑。例如2024年,乐友国际并表利润贡献超过半数净利润,若剔除该部分,孩子王自身归母净利润仅7672万元,不及2022年水平。
此外,孩子王前次募集资金未严格按照承诺用途使用,存在挪变更用途的情况。其曾于2023年发行可转换公司债券募集资金净额约10.24亿元,然而该资金的使用路径却出现了变更。资金最初承诺用于零售终端与物流建设,但随后被调用于门店改造,最终超过4亿元被转而投向收购丝域实业。

图片来源:孩子王公告
资金用途的连续转向,也引发了外界对孩子王资本配置策略关注。这种调整是基于战略的审时度势,还是暴露了前期规划论证的不足?当募集资金的实际流向与初始承诺产生较大偏离时,其未来投资计划的可靠性与执行定力,自然将受到更严格的审视。
孩子王在本次港股募资用途中提到,其涵盖产品创新、网络扩张、战略收购、数字化升级及补充流动资金等,但未披露具体金额与分配比重,这使市场较难评估其资源投放的聚焦度和有效性。
值得注意的是,孩子王的门店坪效已连续多年下滑,从2022年的6289元/平方米降至2024年的5533元/平方米;2024年直营店均收入为1248.5万元,同比下降4.31%。公司虽尝试推出自营优选店、Ultra店等新业态,通过场景化与科技体验寻求突破,但这些创新模式对整体营收和利润的贡献同样尚需时间验证,短期内难以扭转坪效下滑的趋势。
在此背景下,本次募资计划中“扩大销售及服务网络”与“提升数字化能力”等项目,是否能够针对性地解决门店效率低下、客户体验优化等核心痛点?还是仅延续过去的规模扩张路径?若不能从本质上改善运营效率和盈利质量,新增投资恐将加剧“规模不经济”的难题。
公司的财务状况为本次募资的迫切性提供了另一重注解。截至2025年三季度末,孩子王负债总额达69.85亿元,同比增长14.22%;截至2022年、2023年和2024年末,孩子王的资产负债率分别达到62.3%、65.7%和56.8%,虽然在2024年有所下降,但2025年9月30日又回升至64.3%,高于爱婴室、金发拉比等同业企业同期水平。

图片来源:孩子王招股书
同时,因收购等因素,商誉激增至19.32亿元,同比大幅增长147.1%。高负债与高商誉并存,不仅推高了财务风险,也带来了未来商誉减值的潜在压力。
此外,尽管公司宣称募资将用于战略发展,但“补充营运资金及一般公司用途”这一模糊项,结合其当前的负债水平,不免让市场推测:本次赴港上市融资,在相当程度上是为了优化资产负债表、缓解流动性紧张,甚至是为前期扩张“补血”。如果募集资金实质主要用于偿债或填补运营缺口,而非投向能产生持续回报的战略项目,那么其募资的长期合理性同样将大打折扣。
孩子王还提到拟将部分募集资金用于“战略收购及投资”。如前所述,公司已动用前次大量募资收购了丝域实业。然而,两个业务在目标客群、消费场景、供应链管理等方面存在差异,整合难度不容小觑。母婴零售强调家庭消费与信任关系,而专业个护更侧重个人化服务与产品功效,二者能否在运营、品牌和客户数据层面实现真正融合,存在不确定性。此外,收购直接导致商誉巨额增加,未来若整合不及预期或标的表现下滑,将直接侵蚀公司利润。因此,市场对其再度将募集资金用于收购扩张的策略,必然抱有高度审慎的态度。
“三扩”战略挤压利润,行业竞争抬高并购协同难度
孩子王通过直营大店模式构建了母婴零售领域的渠道壁垒,并在2022-2025年间实现了总收入从85.20亿元到93.37亿元的稳步增长,但这种重资产运营模式同时带来了租金与人力成本的结构性高企,直接挤压了盈利空间,导致公司同期净利润率长期徘徊在1.4%至3.1%的微弱区间。

图片来源:孩子王招股书
公司当前持续面临的利润微薄情况也与其既定的扩张战略密切相关。为寻求增长突破,管理层正大力推进“扩品类、扩赛道、扩业态”的“三扩”战略,而这本身就意味着大量资源的投入。2023-2024年公司斥资16亿元收购乐友国际,跨界方面,孩子王2024年1.6亿元拿下幸研生物 60% 股权,2025年又收购丝域集团,进军美妆与头皮护理。不过,由于孩子王缺乏美妆运营基因,供应链需重建,选品逻辑从“安全”转向“功效”,会员标签亦需重洗,考虑到整合失败案例在零售行业中多次出现,对于孩子王来说,其近期频繁并购操作背后,自然存在较大压力。
在招股书中,孩子王也指出了其面临的多重行业风险,其中最核心的挑战在于其业务与人口结构的密切绑定及行业的激烈竞争。内容显示,其母婴童业务的收入常年占总收入的90%左右,其消费群体直接对应0至14岁的婴幼儿及孕妇,这使得公司业绩与中国新生儿数量紧密关联。而自2016年“二孩政策”推动出生人口达到约1786万的峰值后,中国出生率已进入持续下行通道。这一长期结构性变化,或直接压缩了母婴市场的潜在客群规模,构成了对孩子王增长空间的根本性制约。
与此同时,孩子王所处的母婴及个护行业竞争环境日趋白热化且高度分散。根据行业数据,母婴行业前五大参与者合计市场份额仅约1%,头皮护理领域也仅为9%,市场呈现参与者众多、集中度低的典型特征。渠道层面,行业已形成专门连锁店、商超、百货及各类线上平台的全渠道竞争格局。而越来越多的母婴品牌亦通过开设自营店或自建线上平台直接触达消费者,进一步加剧了渠道争夺。而在其新拓展的头皮护理领域,竞争同样激烈,国内外品牌正持续通过产品创新、成分升级及个性化营销抢占市场。
需求侧总量承压、供给侧厮杀加剧的双重挤压下,公司若无法建立起真正差异化的产品、服务或运营优势,将难以在市场中有效扩大或维持其客户基础与市场份额。
即便孩子王本次通过港股上市为其国际化铺路,但海外母婴市场也已是一片竞争激烈的红海。更为关键的是,其在国内赖以成功的“大店模式”与“深度会员运营”体系,在消费习惯迥异的海外市场面临较大的水土不服问题。
对于一个身处零售行业的企业而言,外部消费者的口碑与内部员工的向心力,共同构成了其长期发展的核心支柱。然而,目前的种种迹象表明,孩子王在这两大关键维度上,均面临着不容忽视的压力。
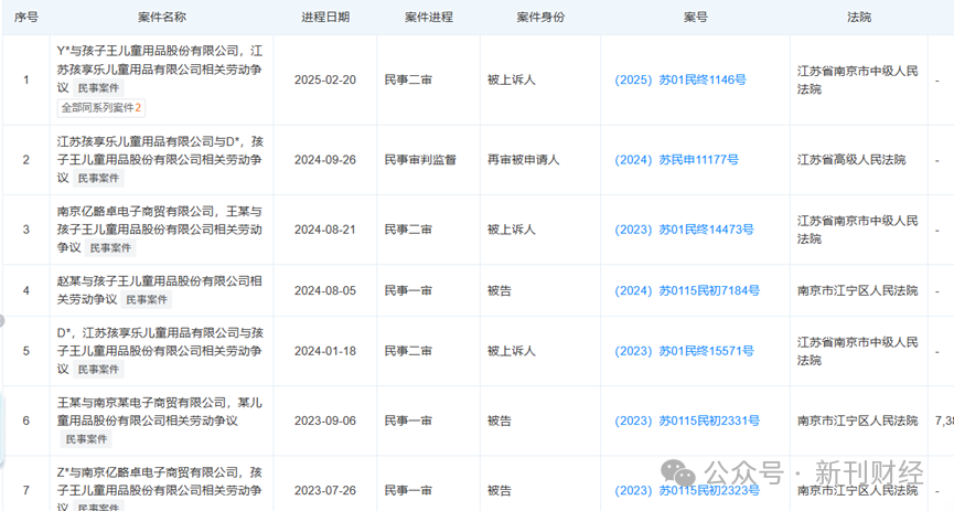
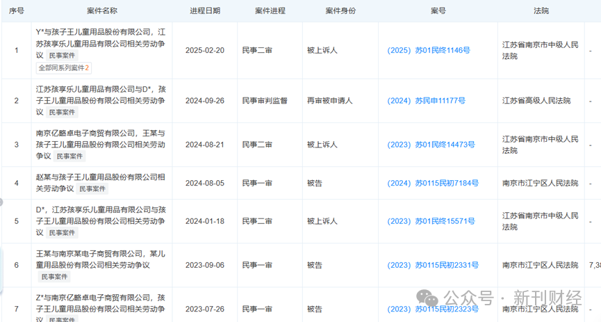
在黑猫投诉平台上,截至12月14日,针对公司的累计投诉量已达866条,其中涉及所售产品质量等问题的投诉屡见不鲜。同时,在社交媒体等平台上,有多个孩子王员工反映公司在考勤管理、合同签订细节、强制调岗等方面存在争议。此外,天眼查数据显示,公司涉及的司法案件达350条,其中作为被告的案例有125条,而劳动争议相关案件已达12条,进一步从法律层面印证了其在劳动关系管理上存在的风险与纠纷。

图片来源:天眼查
股价逆势下跌,重要股东密集减持
孩子王近期在资本市场表现持续承压,其股价在2025年3月触及17.68元的高点后持续下行,截至12月12日已跌至9.65元,市值较高点缩水超过四成,回落至121.71亿元。从年内整体表现看,其股价累计下跌17.39%,走势明显弱于同期上涨近20%的沪深300指数,凸显出与大盘的背离。

数据来源:东方财富网
然而,与同业相比,孩子王当前的估值可能仍处于偏高区间,后续或面临调整压力。以2024年数据为例,孩子王的静态市盈率达67.15倍,动态市盈率为46.97倍,均显著高于爱婴室的21.37倍和20.51倍。此外,孩子王近三年平均净资产收益率仅为4.24%,与同业领先企业亦存在一定差距。估值偏高而盈利能力偏弱的对比,进一步解释了其股价承压的内在原因。
在过去一年中,孩子王重要股东集体减持的信号也值得深入关注。根据公开披露信息,自2024年9月至2025年9月期间,由创始人汪建国全资持有的第一大股东江苏博思达持股比例由24.84%降至22.01%;其一致行动人南京千秒诺的持股比例更从11.44%大幅缩减至5.13%,减持幅度尤为显著。与此同时,作为公司上市前重要战略投资者的高瓴旗下HCMKW,持股也从6.26%下降至4.04%,退出前三大股东行列。
从一致行动人到早期重要机构投资者的集体减持,不禁令市场质疑,作为最了解公司内部情况与长期战略的核心股东,其减持是否为对公司当前的发展轨迹与未来价值增长失去了信心?
综上,孩子王此次赴港上市,本质上面临增长模式与资本逻辑的双重拷问。若无法将融资切实转化为运营效率与盈利能力的提升,仅依赖持续资本输血维持规模扩张,其长期价值与成长持续性或将难以获得市场认可。
作者 | 王立
编辑 | 吴雪

