系统升级有变化!事关高考填报志愿→
内蒙古自治区高考填报志愿辅助系统,由内蒙古自治区教育考试院信息技术处自主研发,自2021年起该系统首次上线,已累计服务考生250万余人次。系统涵盖在我区招生的1500多所院校,2.8万余个专业的历史录取数据及当年计划数据,解决考生选择院校、专业难的问题。

依据2025年高考综合改革政策,我院对系统做了适应性升级,主要适应以下两方面的重大变化:
一是由过去的文理分科,变为12种不同的选科组合。
二是由过去的动态排名精确定位的填报志愿模式,变为院校专业组平行志愿模式。
升级后系统支持考生位次分次选科目动态计算、系统自动过滤考生选科不符合计划要求的招生计划、自动关联院校专业组历史录取数据。同时,系统已对接教育部阳光志愿信息服务系统,提供高校专业介绍及评价、职业前景等信息,与我区形成优势互补,打造更全面、便捷的公共服务平台。
下面介绍内蒙古自治区教育考试院高考填报志愿辅助系统使用方式。
考生和家长可以在内蒙古招生考试信息网“平安高考”栏目找到填报志愿辅助系统的入口,通过高考考生号和密码登录系统。

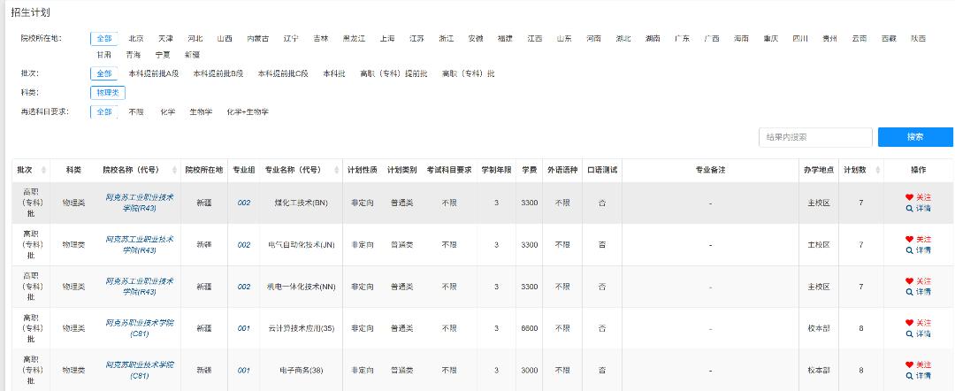
招生计划
在招生计划界面中考生设置院校所在地、批次、科类以及再选科目要求等查询条件后,点击右下角蓝色的“搜索”按钮,即可查询到符合查询条件的招生计划。在查询到结果后考生可以在“结果内搜索”的输入框中输入查询条件进行二次检索,例如输入“计算机”,即可在搜索结果中查询到包含“计算机”的招生计划。查询到符合条件的招生计划后,考生可点击“操作”栏中红色的“关注”按钮,即可将有意向填报的计划添加到我的关注。点击“关注”下方的“详情”按钮,可以查询教育部返回的招生章程、院校满意度、专业满意度、专业推荐、专业介绍、就业情况、升学比例、职业评价、薪酬指数等信息,帮助考生进一步了解相关招生计划。

点击院校名称(代号)可以跳转到院校详情页面,该页面显示此院校近三年分专业的录取数据和2025年招生计划。

点击专业组可以查询此院校当前专业组所含专业近三年的录取数据和2025年招生计划。

成绩排名查询
成绩排名查询界面系统为考生提供了成绩排名查询,通过点击界面右下角的“搜索”按钮,可查询考生投档分数以及报考科类的顺位排名,考生还可设置“再选科目”选项后,再次点击右下角蓝色的“搜索”按钮,查询在考生报考科类及相应再选科目下的投档分数及顺位排名。(注:院校排名查询界面仅显示考生报考科类相关排名,兼报科类排名不显示。)

院校查询
在院校查询界面系统,考生可以通过设置院校所在地、填报志愿批次、选择科类、院校名称、位次浮动值、位次等查询条件来搜索符合条件的院校。考生设置好查询条件后,点击右下角蓝色的“搜索”按钮,即可搜索到符合考生所设置条件院校的历史录取数据。近三年录取数据包含录取最高/最低分数、录取最高/最低位次、录取平均分/中位分。↑表示院校录取最低位次超过位次浮动阈值上限,★表示院校录取最低位次在位次数浮动阈值内,↓表示院校录取最低位次低于位次浮动阈值下限。系统中展现的分数是以当年当前科类的本科二批录取控制分数线(以下简称分数线)为基准,+表示超出分数线,+10表示超出分数线10分,-表示低于分数线,-10表示低于分数线10分。

需要注意的是:系统展示历年录取数据,今年高考综合改革落地,计分方式和赋分规则有变化,考生应根据自身情况综合判断,查询结果仅供参考。
点击院校名称(代号)也可跳转到院校详情页面,获取当前院校历年录取信息和当年招生计划。
专业查询
在专业查询界面系统,考生可通过设置院校所在地、填报志愿批次、选择科类、专业名称、位次浮动值、位次等查询条件,来搜索符合条件的专业的详细信息。
搜索结果中↑表示院校专业录取最低位次超过位次浮动阈值上限,★表示院校专业录取最低位次在位次浮动阈值内,↓表示院校专业录取最低位次低于位次浮动阈值下限。系统中展现的分数是以当年当前科类的本科二批录取控制分数线(以下简称分数线)为基准,+表示超出分数线,+10表示超出分数线10分,-表示低于分数线,-10表示低于分数线10分。
我的关注
考生通过各种条件查询到招生计划,可以将有意向的计划添加到“我的关注”。考生如果有已关注的计划,可以点击“我的关注”查看这些计划,也可以通过点击“操作”栏里的“取消关注”来取消已经关注的计划。点击右上角蓝色的“导出”按钮,可以导出考生当前关注的招生计划。

志愿参考结果
点击导航栏里的“志愿参考结果”,可跳转至“阳光高考阳光志愿信息服务系统-志愿参考服务”页面。该平台在往年高考录取分数基础上,基于大数据分析的独特算法,根据考生预估的高考分数或位次,模拟筛选高校及专业,为考生填报志愿提供参考。
艺术类历年录取
艺术类考生可点击导航菜单里的艺术类历年录取选项,可直接跳转至内蒙古招生考试信息网2024年艺术类填报志愿各批次投档录取结果公示页面。考生可通过点击标题查询2024年艺术类填报志愿投档录取结果。
专业倾向测评
点击导航栏里的专业倾向评测,可跳转至“阳光高考阳光志愿信息服务系统-心理评测”页面。该页面由学职平台联合北大、北师大、南师大心理和职业生涯规划领域教授、专家,根据专业理论和本土化特点编制而成,筛选出适合中学生使用的测评类型。页面集合了对未来从事职业最重要的核心能力维度,参与测评可以帮助了解自己与感兴趣职业的距离,明确提升方向。
注意事项
01
鉴于艺术类、体育类通常结合高考文化课和专业课确定录取标准,本系统暂不提供艺术、体育类历史录取数据查询;但是在“招生计划”菜单可以查询到艺术类、体育类的招生计划。
02
本系统录取数据仅供参考,考生应结合院校招生章程等其他信息综合判断形成意向志愿表。
(转自“内蒙古招生考试”微信公众号)
原标题:《系统升级有变化!事关高考填报志愿→》

