上海贵酒业绩暴跌或致偿债极度艰难!韩啸资本卖酒受海银系牵连
由于韩啸兼任上海贵酒公司董事长、总经理、董事会秘书三个关键职位,他的缺席无疑给公司的日常运营带来了巨大不确定性。另外,在业绩下滑和巨额债务压力之下,公司此前已经历了一系列高管离职事件,上海贵酒的发展前景堪忧。
近日,岩石股份(已于2018年更名为“上海贵酒股份有限公司”,但股票简称仍是“岩石股份”下称“上海贵酒”)因股价的剧烈波动引发市场关注。10月17日,上海贵酒的收盘价为10.19元,当日股价下跌幅度高达9.74%,逼近跌停。而此前,公司在10月16日晚间刚发布了《关于股票交易异常波动的公告》,试图解释过去两个交易日内日收盘价格涨幅偏离值累计达到20.00%的情况。这一反差进一步凸显了市场对这只股票多空立场上的分歧。

图片来源:东方财富网
实际上,上海贵酒目前正处于一个充满挑战的过渡期。9月12日,公司发布公告称,实际控制人韩啸已被采取刑事强制措施。由于韩啸兼任上海贵酒公司董事长、总经理、董事会秘书三个关键职位,他的缺席无疑给公司的日常运营带来了巨大不确定性。另外,在业绩下滑和巨额债务压力之下,公司此前已经历了一系列高管离职事件。

图片来源:公司公告

业绩大幅下滑、现金流告急,偿债压力巨大
受关联公司海银财富事件影响,公司股价曾剧烈下跌,自2024年初以来跌幅高达43.36%,远超行业同期19.80%的平均水准。此外,自韩啸被采取刑事强制措施的后四个交易日,上海贵酒经历三次跌停,累计跌幅近40%。这一现象不仅反映了市场对公司前景的悲观预期,也凸显了投资者对公司管理层和经营策略的不稳定的担忧。
除了在资本市场表现不佳,上海贵酒公司近年来的业绩状况也同样令人担忧。总体来看,上海贵酒近年来虽然在短期内曾呈现过爆炸性的增长,但这种增长并未转化为坚实的盈利基础。相反,它揭示了公司或在盈利能力和财务稳定性方面的深层次问题。
iFind数据显示,在短短三年内,公司的营收从2020年的0.80亿元激增至2023年的16.29亿元。这一数字的二十倍的膨胀幅度看似令人瞩目,实则掩盖了其盈利能力的脆弱。因为尽管营收增长迅猛,但净利润的增幅却远远落后,四年内仅增加了0.79亿元,另外在2023年营收高达16.29亿的情况下,仅0.87亿元的净利润显得尤为微不足道。

数据来源:iFind

数据来源:iFind
这种增长的不均衡性在2024年上半年进一步显现,年报数据显示,上海贵酒当期营收额急剧下降至1.91亿元,归母净利润则由盈转亏,累计亏损额高达0.77亿元。利润较低的背后是上海贵酒销售成本居高,与行业内其他可比公司相比,上海贵酒超40%的销售费用占比大幅超过了行业平均水平。
从增速的角度来看,上海贵酒的业绩波动性同样极大。2021年,公司营收同比增速达到了惊人的656.81%,但到了2024年上半年,这一增速急剧下降至-77.32%。归母净利润增速更是经历了剧烈的波动,2023年该数值为133.0%,但是到了2024年却为负增长,降幅高达244.60%。
对于2024年上半年业绩下滑的主要原因,上海贵酒在财报中表示,受关联方海银财富事件影响,公司因集中归还控股股东借款导致出现暂时流动性压力,对经销商的返利和市场费用未能及时兑付。另外还提到,因为资金承压,品牌营销和市场活动的投入大量减少,导致市场拓展力度减弱。
在业绩下滑的同时,公司还面临较大的债务压力。iFind数据显示,2024年上半年的财务数据中,公司的流动负债高达13.26亿元,与2023年末基本保持相当,远高于2020-2023年平均水平。此外公司应付账款高达4.82亿元,而短期借款也达到了2.88亿元,这都反映出了公司在短期内面临巨大的偿债压力。此外,公司还面临着0.39亿元的应付职工薪酬带来的压力。

数据来源:iFind
高额负债之下,公司的现金流的状况同样告急。2024年上半年,公司的经营活动产生的现金流净额为-0.60亿元,这是自2019年以来首次出现负值,而在2023年年底,该数据还为3.98亿元,此外,公司投资活动的现金流净额为-1.56亿元,并且连续五年是负值状态。

数据来源:iFind
为了缓解债务压力问题,上海贵酒曾经也在积极自救。2023年中报显示,公司货币资金超过6.32亿元,但到了2023年报时,这一数字缩水至0.54亿元,公司解释称其中超过一半的资金支出都用于还债。另外2024年9月4日,上海贵酒将子公司光年酒业持有的位于上海市浦东新区世纪大道1500号的两处办公房地产出售。
面对公司的高额债务压力问题,市场对其偿债能力自然会有诸多忧虑。根据上交所2024年1月31日对上海贵酒发布的问询函内容显示,自2023年10月以来,上海贵酒疑似出现了大规模拖欠员工工资和供应商货款、部分业务线的裁员比例相当高等情况。面对问询,上海贵酒三周后才正式作出回复,其承认公司目前面临暂时性的资金压力,并且解释称是由于需要对资金进行统筹管理,从而导致了拖欠员工工资、供应商货款以及客户现金返利等问题。
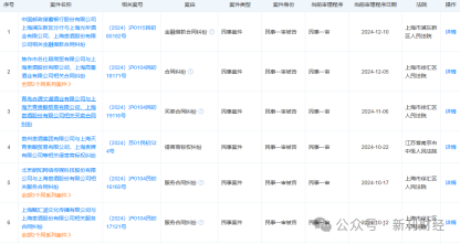
事实上,经销商等也在采取措施积极追回损失。天眼查数据显示,上海贵酒当下涉诉关系已达到462条,这些诉讼案件中,合同纠纷占据了相当大的比例。在法律诉讼的重压下,上海贵酒需投入大量资源来应对,这无疑会分散其在处理公司债务危机等问题上的精力。

数据来源:天眼查

以资本手段卖酒,韩啸或因与其父关联紧密被牵连
在业绩下滑、债务问题突出的经营压力面前,更雪上加霜的是上海贵酒的实控人韩啸也被警方控制了。据上海市公安局奉贤分局9月11日发布的消息称,该局近期依法对海银财富管理公司涉嫌非法集资犯罪立案侦查,对韩某某、韩某、王某等多名犯罪嫌疑人采取刑事强制措施。而后也被证实,韩某某和韩某对应着海银财富实控人韩宏伟和韩啸父子。
公开资料显示,韩啸1989年5月出生,学士学位。现任上海贵酒企业发展有限公司执行董事;五牛股权投资基金管理有限公司执行董事;上海贵酒股份有限公司第十届董事会董事、董事长。除了在上海贵酒担任要职之外,他与海银控股集团也关系紧密。

注:图中人物系韩啸
除了其父亲韩宏伟为海银控股集团董事长之外,韩啸另外一个身份是其也曾为海银控股集团股的大股东之一。据天眼查显示,暴雷的海银财富管理有限公司的大股东为海银控股集团,当前持股比例高达85%。而海银控股集团的大股东则为韩宏伟,持股比例高达99%。事实上,海银控股集团的股权结构曾在2017年7月发生了变动,彼时韩啸退出其所持20%的股权,取而代之的是韩宏伟的持股份额的增加。

图片来源:天眼查

图片来源:天眼查
海银控股集团旗下的海银财富一度曾是国内第三大第三方财富管理平台。然而,由于近年来房地产市场的变化,特别是一些大型房地产企业的暴雷事件,深度参与房地产投资的海银财富因此遭受了重大打击。到了2023年12月,海银财富的财务危机彻底爆发,公司开始面临全面的兑付危机。到了2024年1月,公司甚至无法支付员工工资。尽管公司创始人韩宏伟最初对外表现出信心,声称有能力为公司兜底,但随着时间的推移,有效的兑付方案并未出现,危机持续发酵,海银财富也因涉非法集资等问题被处理。
作为海银集团掌门人韩宏伟的儿子,韩啸可能早已意识到海银财富的问题,其退出海银集团股东行列就能看出这种迹象。但虽然其已经退股,仍不可避免受到了此事件的牵连,背后或在于父子二人在经营上仍然保持着千丝万缕的联系。
退出海银集团股东行列后,韩啸在上海贵酒曾用资本运作的手段扩张公司规模,并仍未摆脱海银系的影子。2018年上海贵酒收购了贵州贵酒云电子商务有限公司85%的股权,后续上海贵酒又进一步收购高酱酒业,分别拿下章贡酒业95%股权和赣州长江实业95%股权。在营销模式上,上海贵酒与多个金融研究机构合作,以此作为品牌宣传手段试图出圈。此外上海贵酒与豫商集团共同设立投资管理平台来加强白酒产业链上下游整合,而该集团实控人则为韩宏伟。巧合的是,2018年同期,海银集团也宣布在遵义开展500亿元白酒产业的投资,另外海银集团旗下也有贵州贵酿酒业有限公司。
2023年12月18日上海贵酒发布的公告称,公司与海银控股及其子公司仅有酒类销售业务,交易金额为4.88万元,除上述业务外海银控股无其他业务往来。虽然关联交易金额并不算大,显然,韩啸这种通过资本运作手段的做酒模式与其父控股下的海银集团金融投资战略有诸多相似。这种模式虽然在短期内为上海贵酒的发展注入了大量资源,但长期来看,隐藏着不小的风险。

动荡之下多名高管先后离职,韩啸曾努力挽救但无结果
受海银财富事件影响,自2024年3月起上海贵酒便经历了剧烈的高管变动。
3月22日,鄢克亚因个人原因辞去了总经理的职务,同日,邹卫东也辞去了董事会秘书的职位。公司随后迅速行动,在同一天宣布聘任韩啸为公司总经理,刘智涛和张健为副总经理,胥驰骋为董事会秘书。然而,这一轮人事变动并未平息公司的动荡。5月28日,公司再次发布人事变动公告,董事潘震、副总经理吴建诚和陈有为宣布辞职。到了6月6日,胥驰骋也辞去了董事会秘书的职务,由总经理韩啸临时接任。8月10日,桂李鑫在上任3个月副总经理职位后,也递交了辞职报告。同样,今年5月上任的副总经理李奕霆也于10月1日离职。

图片来源:上市公司公告
在经历了一系列高管离职的风波之后,公司面临着前所未有的管理危机。韩啸作为公司的核心人物,一度身兼多职试图力挽狂澜,但随着其被采取刑事强制措施,公司的经营更是雪上加霜。
在这种背景下,副董事长陈琪不得不站出来,代为履行董事长及董事会秘书的职责,以维持公司的基本运营。此外,为了应对这一过渡期的挑战,上海贵酒计划成立一个经营委员会,以代为履行总经理的职责。然而,这一举措是否能够真正解决公司所面临的问题,还需要时间来验证。
编辑| 吴雪

