互联网医疗大变局!蚂蚁集团收购好大夫在线!
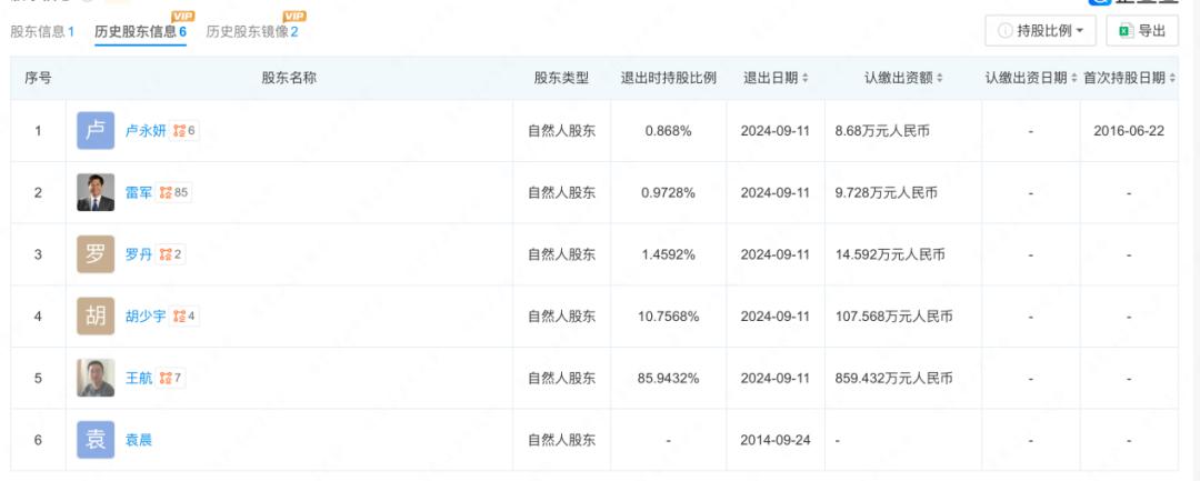
互联网医疗领域的独角兽——好大夫在线被蚂蚁集团全资收购的传闻终于落地。天眼查显示,好大夫在线的主体互动峰科技(北京)有限公司(以下简称:互动峰科技)近日出现股东变动。好大夫在线创始人王航9月11日转让85.94%的股份,持有0.97%股份的雷军亦退出,其他三位股东也退出股东名单;蚂蚁集团全资子公司上海云玚企业管理咨询有限公司持有互动峰科技100%的股份。
同时,互动峰科技法定代表人变更为蚂蚁集团副总裁、数字医疗健康事业部总经理张俊杰。
此前,市场传言称,蚂蚁集团正计划收购好大夫在线,后者将并入支付宝医疗健康事业部。对此,好大夫在线方面回复称,公司对于此消息不予置评,请以官方发布的消息为准。

图片来源:天眼查对于二者的“联姻”,业界人士称,蚂蚁集团凭借其庞大的流量池与稳固的平台基础,与好大夫在线所拥有的数万名资深且活跃的医生资源形成优势互补。此后,蚂蚁集团能够依托好大夫在线的专业医疗平台,深化在医疗健康市场的战略布局,探索更多元化的商业模式以实现长远发展。同时,这一整合也将助力好大夫在线有效应对盈利模式不清晰的挑战,加速其商业化转型进程,共同开创双赢局面。
好大夫在线创立于2006年,是中国领先的互联网医疗平台之一。官网显示,好大夫在线已经在医院/医生信息查询、图文问诊、电话问诊、远程视频门诊、门诊精准预约、诊后疾病管理、家庭医生、疾病知识科普等多个领域取得显著成果。
互联网信息显示,2007年,雷军等人向好大夫在线提供了300万元的天使投资。此后,好大夫在线还经历了数轮融资。
2017年2月,由腾讯领投、数家知名基金跟投的D轮融资完成,金额高达2亿美元,是好大夫在线成立以来数额最大的一笔融资。彼时,好大夫在线的估值达到13亿美元—14亿美元,成为互联网健康领域的知名独角兽企业。
数据显示,截至2024年9月,好大夫在线收录了国内10000余家正规医院的94万名医生信息。其中,28万名医生在平台上实名注册,直接向患者提供线上医疗服务。在这些活跃医生中,三甲医院的医生比例占到73%。截至2024年9月,好大夫在线已累计服务超过8900万名患者。
如何将松散的盈利方式固化,并打造较为成熟的商业模式,是长期困扰互联网健康企业的一大难题,亦是好大夫在线的瓶颈之一。王航曾在2023年表示,好大夫在线在2023年第一季度实现了收支平衡,全年将会盈利。
王航当时对媒体表示,相比前些年的产研阶段,2023年好大夫正式迈入了商业化阶段。除了平台服务费和会员服务,3月好大夫还上线了针对内科医生的随访服务包,主要面向的是有慢性疾病的患者,在没有力推、自然上线的情况下,业务表现尚可。
2022年12月,业内开始流传一封由王航发出的《给全体员工的信》,其中写道,好大夫在线即将进行战略及组织结构调整,具体方向就是从创业期的专注产研转型为市场开拓。好大夫在线彼时对媒体确认信件属实,并表示做出此决定的原因在于希望能加强业务的抗风险能力,摆脱对融资的依赖,成为一家自负盈亏的企业。
对于好大夫在线的商业模式,王航曾在2022年对媒体表示,将好大夫平台定义为线上工作平台,将从多种角度赋能医生。第一,提升医生工作组织能力。以前医生所有的工作是依赖于医院,互联网时代给了医生很大的自由度,围绕着医生去赋能和整合行业资源;第二,医生对患者的干预延伸到院前以及院后,实现全病程管理,甚至是全生命周期;第三,互联网医生可以去对接市场,对接广大的消费者,互联网对患者的展现能力、连接能力有所不同。
原标题:《互联网医疗大变局!蚂蚁集团收购好大夫在线!》

