暴雨、大暴雨!预警升级,河南发布紧急通知→
预警升级!
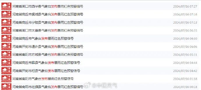
@中央气象台今天凌晨到早上
全国降水榜前十
几乎都被河南包圆
今天河南、山东等地
成为暴雨核心区域
其中河南局地有特大暴雨
南阳、商丘、周口、开封等
多地已拉响最高级别的
暴雨红色预警
具体来看昨天17时至今天11时
我省地市平均降水量
周口103.4毫米、漯河99.7毫米
商丘89.8毫米、南阳30.8毫米
多个预警升级!注意防范
河南省气象台今天9时
升级发布暴雨橙色预警
昨日至今晨
我省西南部、中东部
出现暴雨
南阳东北部、驻马店西部
漯河、许昌、周口北部
开封南部、商丘西部
等地出现大暴雨
其中南阳东北部、周口北部
许昌南部特大暴雨
据@中国天气今天凌晨开始
河南南阳盆地
遭遇极端强降雨
按昨天8时至今天8时统计
最大降水量出现在
河南社旗大冯营
为606.7毫米
若按3时至3时统计
大冯营降水量达到683.5毫米
因为夜间低空急流增强
导致夜雨对流性突出、强度大
最大小时降水量
也出现在大冯营
高达148.3毫米
中国天气气象分析师唐晓静表示
由于副热带高压稳定少动
边缘急流强盛
北侧有弱冷空气南下
形成稳定的切变系统
未来2天
河南南部和东部
仍将有持续强降雨天气
其中西南部一带
累计降水量仍有明显极端性
且夜间增强特征显著
持续强降雨可能引发
城乡内涝、山洪、泥石流
滑坡等次生灾害
请公众注意关注雨情、汛情
多加警惕
据@中央气象台预计7月16日至18日
四川盆地西北部、河南东部
山东南部、苏皖北部
等地的部分地区有大暴雨
局地特大暴雨
并伴有雷暴大风
和短时强降水等强对流天气
经综合研判
中国气象局于今天9时
将暴雨三级应急响应
提升为暴雨二级应急响应
今天上午淮河水利委员会
升级发布洪水黄色预警
影响范围为河南信阳市
安徽阜阳市、六安市
河南省水文水资源测报中心
7月15日20时发布
水灾害风险提示
15日20时至16日20时
局部强降雨影响
洛阳市、南阳市、三门峡市
驻马店市、平顶山市、商丘市
周口市、许昌市、漯河市
开封市、新乡市、焦作市
等地部分地区水灾害风险较高
最新数据显示
河南超汛限水位大中型水库
已增至29座↓
受降雨影响,唐白河、洪汝河出现洪水过程,唐河社旗水文站出现超保洪水,唐河水文站、郭滩水文站出现超警洪水。
截至16日9时,全省有汝南宿鸭湖,商城鲇鱼山,确山薄山,驿城区板桥,泌阳宋家场,舞钢石漫滩,叶县燕山7座大型水库和唐河虎山,泌阳石门、三山、华山、霍庄、火石山,方城望花亭,舞钢田岗,邓州刘山,卧龙兰营、龙王沟、打磨石岩、冢岗庙、彭李坑,鲁山澎河,西平潭山、康山,遂平下宋,南召辛庄、廖庄,淮滨兔子湖,潢川老龙埂22座中型水库超汛限水位,正有序泄洪。
河南省气象局、河南省农业农村厅
今天联合升级发布
农田渍涝灾害高风险预警
7月以来我省大部地区
降水较常年同期偏多1倍以上
部分农田土壤持续偏湿
天数已超过5天
豫南局部地区超过10天
预计未来10天
我省降水持续时间长
累计雨量大、暴雨落区重叠度高
且有一定极端性
全省大部农田渍涝
灾害风险较高
建议防御措施1.提前疏浚田间沟渠和通河沟渠,做到内联外通,保障排水畅通;做好应急排涝机具和队伍准备,及时抢排低洼地块积水。
2.持续降雨容易造成肥料淋融,雨后要及时追施速效氮肥,防止作物后期脱肥。
3.雨后加强玉米褐斑病、叶斑病、南方锈病、玉米螟、花生白绢病、水稻“两迁”害虫、稻瘟病等病虫害监测防控。
应对强降雨,河南紧急通知今晨8时
省防指对南阳启动
防汛一级应急响应
(点击看详情)并于今天11时
对郑州、开封、平顶山、新乡
许昌、漯河、商丘、周口
驻马店市启动
防汛三级应急响应
同时终止对信阳市的
防汛四级应急响应
省防指要求
相关省辖市要持续保持
高度戒备状态
严格落实“123”“321”
防汛工作要求
按照预案规定的响应行动
落实落细防范应对措施
确保人民群众生命安全
遇有重大险情灾情
第一时间报告省防指
为应对可能发生的
暴雨洪涝灾害
河南省防灾减灾救灾
委员会办公室
发布紧急通知
↓
要求各级各部门从压实防汛责任、加强会商调度、完善应急预案、加快排涝工程建设、做好队伍物资准备、落实重点防范措施、强化宣传引导等七个方面做好城市区域防范应对工作。
根据通知,各级各部门要压实城市防汛责任,明确工作任务。各级防指要严格落实“123”“321”工作机制,加强指挥会商调度,针对局地突发强降雨应对,要做好分区分级响应和避险转移、抢险救援等一线临灾处置工作。
在完善城市应急预案方面,通知提出,城市防洪排涝主管部门要制订城区排水防涝专项预案,明确内涝影响范围、应急措施和相关部门联系人。针对超标准暴雨制订专项方案,明确洪涝水的“分、蓄、滞、排”措施。街道、社区预案应明确风险区域、需转移人员、预警信号、转移路线和责任人。与此同时,通知要求,要加快排涝工程建设,开展易积水点改造,提升城市防洪排涝能力,落实重点防范措施,各级各部门要根据预案及时启动响应,重点关注易涝积水点、深基坑、临水滨河道路、涉山涉水景区和地铁、隧道、地下车库等地点,做到严格排查、专人巡防,并做好应急处置准备,提前向重点防范区域和高风险地区预置排涝设备和抢险救援队伍。
在预置抢险救援力量和物资方面,通知提出,要立足应对城市极端暴雨时可能发生的特别重大险情灾情,特别是断路、断电、断网等情况所需的抢险救灾物资装备;针对生命线工程、重要基础设施、地下空间等设置挡水设施,备足防汛沙袋。
此外,通知要求,各级各部门要广泛开展防灾避险知识宣传和教育,积极推动防汛防涝安全知识“进企业、进家庭、进机关、进校园、进社区”,常态化宣传极端暴雨安全防范和应急处置知识,不断强化市民防灾避险意识和自救能力,引导市民有序防灾避险。
“七下八上”防汛关键期
暴雨天出行应该注意什么?
雷雨天如何做好预防?
山洪到来如何自救?
这份避险指南点击查收来看具体天气↓
据@河南气象 预报,今天下午到夜里,全省阴天,大部有小到中阵雨、雷阵雨,黄淮之间和新乡东部部分县市有大到暴雨,其中南阳东部、驻马店西部和北部、平顶山南部、许昌东部和南部、漯河、周口西部和北部、开封东南部、商丘部分县市有大暴雨,局部特大暴雨,并伴有短时强降水、雷暴大风等强对流天气。
大家一定要提高警惕密切关注最新
预报预警信息
近期外出时
不要选择河滩、谷地
以及地势低洼的地方
天气恶劣时
尽量避免外出
不要跟暴雨
强对流天气硬碰硬
能躲则躲
注意安全
来源:河南日报微信整理自河南日报客户端(记者 黄岱昕 谭勇 )、@中央气象台、@中国天气、@河南气象、中国气象局、南阳日报、水利部网站、河南省水文水资源测报中心等
原标题:《暴雨、大暴雨!预警升级,河南发布紧急通知→》

