恒邦能源重组信披与公开信息不一致 实控人企业牵涉受贿案

除了上市前分红近两亿元,IPO拟募资3.95亿元,四川恒邦能源股份有限公司(下称“恒邦能源”)IPO前重大资产重组的价格等交易细节与公开信息还存在不一致的情形。
《大众证券报》记者发现,IPO前,恒邦能源前身四川省犍为恒邦天然气有限公司(下称“恒邦有限”)于2016年通过重大资产重组收购峨眉山市燃气有限责任公司(下称“峨眉燃气”)股权,将经营范围扩大至峨眉山市,扩大公司规模。
在被并购前,峨眉燃气变更了公司《章程》,将峨眉燃气公司《章程》第十五条“企业职工的股权证不得向企业外的任何人发行、转让、抵押”,修改为“公司股东半数以上决定对外转让所持股权的,可以对外转让”。上述修改决议与招股书披露的同一天会议决议并不相同。在收购后,峨眉燃气股东、前职工对于股权转让长期存在异议,而相关纠纷的裁定书中涉及的交易价格与招股书披露的交易价格也不一致。
重组交易价格、相关决议信披不一致
恒邦能源主要从事城镇燃气的输配与运营业务,包括天然气销售(含居民生活用气、工商业用气等)和天然气设施设备安装。
恒邦能源自2015年以来加快了对外并购并扩大公司经营规模的步伐。2016年2月,公司前身恒邦有限以公开拍卖的形式取得了峨眉燃气99.272%的股权,将经营区域从犍为县拓展至峨眉山市。2021年10月,公司收购峨眉山市富鑫天然气有限公司管网等相关资产,扩大了特许经营权范围和经营规模。
根据招股书,公司收购峨眉燃气股权的具体过程如下:
2015年9月6日,峨眉燃气召开股东会,全体股东表决通过以下两项决议:“1.同意本人及其他股东持有的共计99.272%公司股权对外转让。2.同意本次股权转让共同以整体转让方式进行,按评估、拍卖方式对外转让,以评估价为起拍价。”(见图一)
图一:恒邦能源招股书披露重大资产重组情况截图

2015年10月12日,四川方略资产评估事务所有限公司出具了川方评报字[2015]126号《峨眉山市燃气有限责任公司因股权转让事宜而涉及的整体资产评估报告书》。根据该报告,截至2015年7月20日,峨眉燃气评估价值为25908.17万元。
2016年1月10日,恒邦有限2016年第一次股东会决议同意公司参与峨眉燃气股权拍卖项目,并委派代表参与拍卖及签署本次收购的相关协议等文件。2016年1月28日,恒邦有限与四川乐山瑞星拍卖公司签订了《竞买合同》,约定恒邦有限参加2016年2月3日由四川乐山瑞星拍卖公司组织的竞拍标的为“峨眉山市燃气有限责任公司99.272%股权(峨眉山市燃气有限责任公司已依法取得2016年1月1日至2045年12月31日城市管道燃气特许经营权)”的竞买,起拍价为25720.00万元。2016年2月3日,恒邦有限与四川乐山瑞星拍卖公司签订“乐瑞拍成字(2016)字第01号”《拍卖成交确认书》,约定恒邦有限以最高应价竞得峨眉山市燃气有限责任公司99.272%股权。
2016年2月6日,恒邦有限与峨眉燃气原股东峨眉山市燃气有限责任公司工会委员会、谭传林等签订了《峨眉山市燃气有限责任公司股权转让协议》,恒邦有限收购峨眉燃气99.272%股权成本为32762.00万元(见图二)。
图二:恒邦能源收购峨眉燃气 99.272%股权成本截图

收购完成后,峨眉燃气股权结构如下:恒邦有限出资额2074.79万元,持股比例为99.27%;谭传林等12人代持黄天启、梅民生股份,出资额15.22万元,持股比例为0.73%。
2017年4月17日,峨眉燃气召开股东会,决议同意梅民生将持有的76076元出资额转让给恒邦有限。同日,双方签订了股权转让协议,转让价格为14.46元/份出资额,转让金额合计110万元。
收购完成后,恒邦有限持有峨眉燃气99.636%的股权。招股书披露,“最近一年,峨眉燃气实现营业收入21519.62万元。”
此后,峨眉燃气股东黄天启、前职工万建忠数次提起诉讼,其中一份裁定书中显示的峨眉燃气99.272%股权的竞价与招股书披露的收购成本并不一致。
裁判文书网2018年12月发布的《万建忠、峨眉山市燃气有限责任公司股东名册记载纠纷再审审查与审判监督民事裁定书》(下称《裁定书》)显示,“2016年2月3日,四川乐山瑞星拍卖有限公司接受峨眉山市燃气公司委托,拍卖峨眉山市燃气公司99.272%的股权。恒邦公司(即恒邦有限)以最高应价38100万元竞得99.272%的股权(见图三)”。这一价格与招股书披露的“恒邦有限收购峨眉燃气99.272%股权成本为32762.00万元”存在较明显差距。
图三:万建忠、峨眉山市燃气有限责任公司股东名册记载纠纷民事裁定书

此外,《裁定书》还透露了峨眉燃气被并购前后的相关细节,2015年9月6日,峨眉燃气召开股东会,全体股东表决通过的决议与招股书披露的“两项决议”不完全一致。
据《裁定书》,峨眉燃气成立之时,因持职工个人股的股东人数众多,超过了《公司法》规定的上限,便以本案12名一审第三人作为登记在案的自然人股东,由他们平均代持包括万建忠在内的全部职工个人股股份。2015年9月6日,峨眉燃气召开股东会,包括万建忠在内的132名股东(应到134人,实到132人)参与了大会表决,通过表决形成决议:“1.将峨眉山市燃气有限责任公司《章程》第十五条‘企业职工的股权证不得向企业外的任何人发行、转让、抵押’,修改为‘公司股东半数以上决定对外转让所持股权的,可以对外转让’。2.根据公司集体股的设置和性质,对公司集体股转让后从集体股股权转让款中提留20%用于解决企业历史遗留问题的处置方案(见图三)。”申请人在此次股东会决议上签名捺印。会后,峨眉燃气随即向全体股东发放了《峨眉山市燃气有限责任公司股东股权转让决定及相关事项授权委托书》征询各股东的书面意见。
对于132名股东通过表决形成的决议,以及会后峨眉燃气向全体股东发放的上述委托书,恒邦能源招股书中并未披露。
那么,恒邦能源并购峨眉燃气是否存在争议?为何招股书披露的“两项决议”与《裁定书》中峨眉燃气2015年9月6日召开股东会全体股东表决通过的决议不完全一致?
《裁定书》显示,公司以最高应价38100万元竞得峨眉燃气99.272%的股权,这一价格与招股书披露的“恒邦有限收购峨眉燃气99.272%股权成本为32762.00万元”相差逾5000万元,为何两者存在较明显差异?究竟哪个价格真实、准确?恒邦能源招股书信披真实性、准确性、完整性如何?
实控人企业牵涉受贿案
此外,恒邦能源实控人彭本平控制的一家企业还牵涉一起受贿案。
裁判文书网2020年10月发布的《钟昆受贿一审刑事判决书》显示,周某、彭本平牵涉其中。
判决书显示,乐山市建设监察支队(下称“监察支队”)支队长、法定代表人钟昆在任职期间,利用其对建筑开发领域相关单位遵守工程建设、城市建设、建筑业、房屋装饰装修业、住宅与房地产等法律、法规和规章的情况进行检查并对违法行为进行纠正、查处以及在房地产开发项目所需的《乐山市建设项目意见表》上签字,才能使相关项目通过规划核实的职务之便,为他人谋取利益非法收受他人财物。
经过审理查明,钟昆于2006年9月5日被乐山市规划和建设局聘任为乐山市园林设计所所长,于2012年3月22日被乐山市住房和城市规划建设局聘任为监察支队支队长,担任该支队的法定代表人。监察支队经乐山市机构编制委员会批准设立,为乐山市规划和建设局下属事业单位,经费形式为核定收支、定额补助,列入财政预算。监察支队主要职责:受住建局的委托,对公民、法人或其他组织遵守有关工程建设、城市建设、村镇建设、建筑业、房屋装饰装修业、住宅与房地产业、勘察设计咨询业、市政公用事业、城市园林绿化、测绘等法律、法规和规章情况进行检查并对违法行为进行纠正、查处。2011年至2016年期间,被告人钟昆利用职务之便,为他人谋取利益,非法收受他人财物共计401万元。
其中,在2015年9月,钟昆向四川瑞松置业有限公司总经理周某打招呼,使曾某1、罗某1承揽到该公司开发的“中心城”项目部分门窗安装工程。
证人周某的证言证实,“2015年8月,找钟昆办事时,钟昆提出希望从中心城项目中给一些工程让其表哥曾某1承建,经汇报了董事长彭本平后同意。2015年9月24日,周某与曾某1签订了瑞松中心城一期商业铝合金门窗及铝塑板墙面制作、安装合同。因为钟昆出面招呼,考虑到钟昆是市建设监察支队长,对自己公司的项目有监管职权,所以才直接将工程交给曾某1来承揽。”
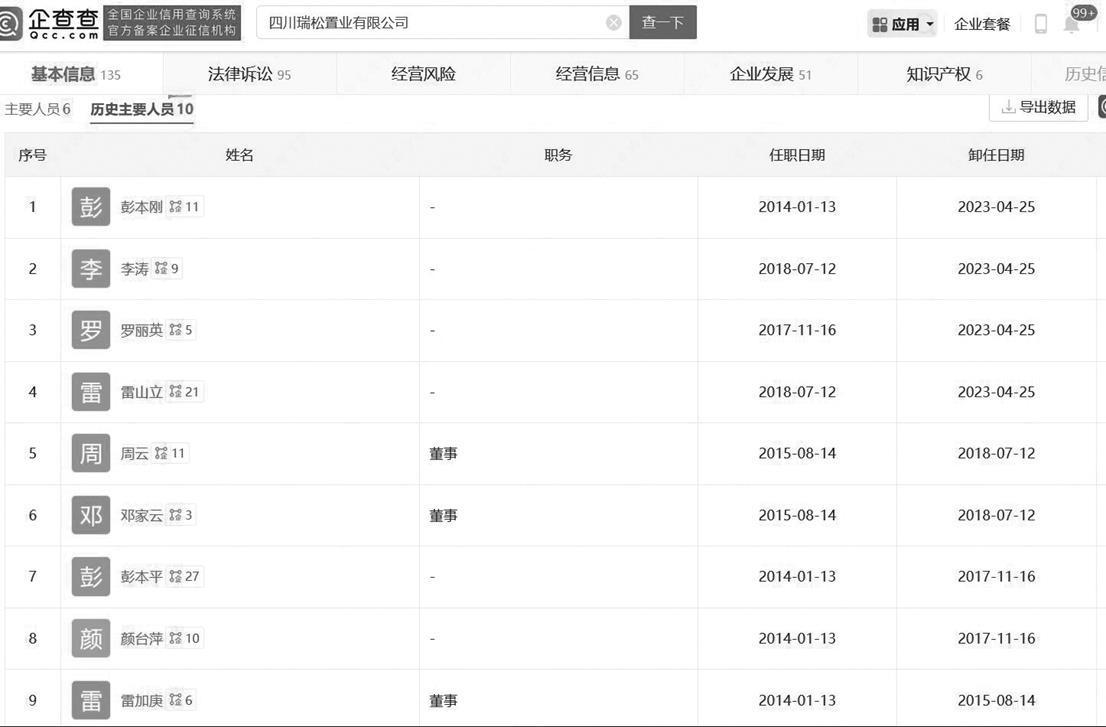
通过企查查查询的工商登记信息显示,2015年,四川瑞松置业有限公司股东、董事长为彭本平;彭本刚担任董事,直至2023年才卸任(见图四、五)。
图四:四川瑞松置业有限公司历史主要人员

图五:四川瑞松置业有限公司变更记录

那么,《钟昆受贿一审刑事判决书》中四川瑞松置业有限公司时任总经理周某是谁?找钟昆所办何事?报告期内,恒邦能源实际控制人彭本平是否存在贿赂行为?是否为适格股东,是否存在不符合发行条件的情形?
就上述疑问,《大众证券报》记者此前通过电邮致函恒邦能源,截至发稿未收到相关回复。今年一季度,恒邦能源主动撤回申报材料,终止IPO。
记者 何玉晓

