出资百家GP,持股千家公司,看清北交浙等高校基金会如何布局创投圈
原创 李新新 IT桔子
来源|IT桔子
作者|李新新
封面图来源|文心一格
2023 年 11 月 29 日,正值武汉大学 130 周年校庆之际,小米集团创始人雷军个人向武汉大学捐赠 13 亿元人民币,刷新武大建校以来单笔最大捐赠额。
并且,雷军的这笔捐赠也是全国高校收到的最大一笔校友个人现金捐赠。
随后,「雷军向武大捐赠 13 亿元」一事冲上新闻热搜,并引起广大网友热议。

不过,当大家的关注点集中在「雷军」本人的时候,「武汉大学教育发展基金会」悄然间迎来了逆袭。
根据新财富统计的 2018-2022 年中国内地高校基金会获得的社会捐赠收入排名名单中,武汉大学教育发展基金会以 13.49 亿元的捐赠收入位列全国第 7 名。2023 年武汉大学教育发展基金会仅仅凭借这 13 亿元,或许有望冲进 TOP 5 行列。

注:截选自新财富制作的部分榜单
一般来讲,学校收到的捐赠物资归属于该校设立的教育发展基金会。而学校教育发展基金会设立的最初目的是将学校的财务收入从「统收统支、政府包办、单一拨款」,走向「以国家财政拨款为主,多渠道、多元化筹措高等教育经费」模式。
学校教育发展基金会将从个人、社会团体等各渠道获得的捐赠收入,用于科研项目、人才引进、校园基础设施、校园奖学金等,助力学校发展。
不过根据《基金会管理条例》规定,高校教育基金会应当按照合法、安全、有效的原则实现基金的保值、增值,实现基金的持续健康发展。
这要求各大高校在依赖于社会和政府支持之外,要依靠自身力量实现基金会的保值增值。
根据基金会中心网数据记录,目前中国已有 27% 的高校成立了基金会,高校基金会数量为 747 家。以清华、北大等为代表的一批顶级院校基金会在获得巨额捐赠收入的同时,进行了投资活动。
在我们鲜有关注的背后,一批大学基金会已在一级市场、在创投圈展现了非凡的投资实力。
本文将挑选全国 5 大活跃校园基金会为代表,揭秘学校基金会如何做投资。
清华大学教育基金会:净资产超 180 亿元
对外出资事件 75 起,间接持股 1000 家+公司
1994 年,清华大学教育基金会正式成立,据悉这是国内最早在大陆正式注册成立的大学教育基金会。清华大学教育基金会成立之初原始基金规模为 2000 万元,截至 2022 年底基金会净资产为 180.45 亿元。
从其出资情况来看,自成立至今的近 30 年间,清华大学教育基金会对外出资事件(仅统计已公开)共计 75 起,间接持股公司数量 1000 家+,在一众高校基金会中位居前列。
2007 年 5 月,清华大学教育基金会出资 4200 万元参股「启迪创业投资有限公司」,当前持股 51.22%,据可追查的数据显示这是清华大学教育基金会的第一笔出资。直至 2016 年及之后出资节奏才开始加快,2016 年——2023 年 11 月清华大学教育基金会出资事件数量达 58 起,也就是说超 77% 的出资事件是在 2016 年及以后完成的。

此外,虽然清华大学教育基金会内部设有「资金运作部」,管理捐赠资金的流转,但从出资公司类型来看,清华大学教育基金会出资的 75 起事件中有 62 起事件为创办、参股子基金公司。
这表明,清华大学教育基金会仅少量事件为直接参与初创公司的投资,其余则交由专业的 GP 管理。IT 桔子梳理发现,清华大学教育基金合作 GP 超 30 家,包括高瓴创投、北极光创投、高榕资本、英诺天使基金、武岳峰资本等一批知名投资机构。
而在与 GP 合作的基金中,目前投资最活跃的当属泰有基金管理的「杭州泰之有创业投资合伙企业 (有限合伙)」。清华大学教育基金于会 2017 年 7 月出资 4413 万元参股该公司,持股 0.26%。当前该基金出资事件达 108 起,投资了众多先进制造和医疗健康企业,包括钧舵机器人、佐医医疗、艾锐光电等企业。
从持股比例来看,清华大学教育基金会持股基金公司持股比例多集中在 30% 及以上,并且有 4 家公司为全资控股。

其中,于 2020 年 12 月出资 29.23 亿元 100% 控股的丰泽资产管理(深圳)有限公司,为清华大学教育基金会当前对外出资的最大一笔金额。于 2017 年出资 1.5 亿元持股 50% 的嘉兴清银投资合伙企业 (有限合伙),当前出资 2 起事件,间接持股 668 家公司,成为清华大学教育基金会的另一大投资主力。
此外,清华大学教育基金会直接投资的 13 家创业公司包括上市公司美团(持股 0.15%)、独角兽企业紫光展锐(持股 1.11%)、高新技术企业新恒汇电子(持股 1.11%)、专精特新企业视拓超导(持股 13.55%)等。
清华大学教育基金会间接持股的 1000 家+公司中,包括两家 A 股上市企业——新型碳素材料企业「翔丰华科技」(间接持股 0.8%)、信息网络装备和生态环境服务商「高凌信息」(间接持股 0.53%)。另外还持有一批国家高新技术企业、专精特新小巨人企业,例如:外骨骼机器人开发商「傅利叶智能」(间接持股 0.68%)、石油行业高端智能装备研发制造商「捷杰西科技」(间接持股 1.16%)、无线智能传感器及传感云服务提供商「源清慧虹」(间接持股 1.27%)。
据清华大学教育基金会 2022 年年报披露,2022 年清华大学教育基金会投资总收益达 5.85 亿元。
北京大学教育基金会:净资产近 80 亿元
对外出资事件 31 起,间接持股 1000+ 家公司
北京大学教育基金会成立于 1995 年,成立之初原始基金规模为 2000 万元,截至 2022 年底基金会净资产为 78.78 亿元。
北京大学教育基金会设有专门的「投资事业部」管理捐赠资金的投资工作,截至 2023 年 11 月 30 日,北京大学教育基金会对外出资事件 31 起,间接持股公司数量 1000 家+。
与清华大学教育基金会直接参与创业公司的投资获得股份不同,北京大学教育基金会当前持有的多家公司股份靠捐赠所得。据北京大学教育基金会 2022 年年报披露显示,当前持有的浩德科技(持股 2.38%)、伯克生物(持股 3.51%)、蓝色光标(持股 0.16%)3 家公司股份,均为受赠获得。也就是说,北京大学教育基金会通过 0 元出资,便获得了上述公司股份,也凭此间接持股了多家公司。
此外,北京大学教育基金会受赠获得的其他公司股份还包括索凌电气(持股 0.4%)、碧海舟(持股 0.38%)、中瑞集团(持股 1%)、奔腾远程汽车(持股 5%)、麦特网络(持股 5%)。

注:截选自北京大学教育基金会 2022 年年报
不过北京大学教育基金会真正意义上的出资是与 VC/PE 合作,以 LP 身份出资参股多支基金。
IT 桔子梳理数据发现,北京大学教育基金会当前参股子基金事件达 22 起,涉及十几家 GP,包括高瓴创投、鼎晖投资、松禾资本、中信建投资本、赛富投资基金等。
其中,于 2015 年出资 2.5 亿元持股 71.4% 的广州赛富建鑫中小企业产业投资基金合伙企业(有限合伙),当前该基金对外出资事件 13 起,间接持股 124 家公司。据北京大学教育基金 2022 年年报显示,参股该基金获得的收益达 2205 万元。
此外,由北京大学教育基金会参股多支子基金而间接持股的 1000 家+公司中,则包括独角兽企业江记酒庄(间接持股 2.17%)、专精特新小巨人企业泰斗微电子(间接持股 0.93%)、知名茶饮品牌沪上阿姨(间接持股 0.85%)、国家级高新技术企业库柏特科技(间接持股 0.42%)等。
据北京大学教育基金会 2022 年年报披露,2022 年北京大学教育基金会投资总收益达 3.08 亿元。
浙江大学教育基金会:净资产超 60 亿元
对外出资事件 18 起,间接持股 489 家公司
浙江大学教育基金会成立于 2006 年,成立之初原始基金规模为 5000 万元,截至 2022 年底基金会净资产为 62.74 亿元。
浙江大学教育基金会内部设有「投资部」管理捐赠资金的投资工作,截至 2023 年 12 月 1 日,浙江大学教育基金会对外出资事件 18 起,间接持股公司数量 489 家。
最新一笔出资事件发生在 2023 年 12 月 1 日,企查查数据显示浙江大学教育基金会出资 5000 万元参股厦门鼎一淳鑫股权投资合伙企业(有限合伙),持股 5.8%。一同出资该公司的 LP 还包括泰康人寿、利安人寿、浙商保险等公司,公司管理人为鼎一盛合投资。
IT 桔子梳理浙江大学教育基金会历史出资数据发现,浙江大学教育基金会与 GP 的首次交手发生在 2017 年 11 月,彼时浙江大学教育基金会出资 1.6 亿元参股天津鼎晖稳丰股权投资基金合伙企业(有限合伙),该基金管理人为鼎晖投资。此后浙江大学教育基金会又相继牵手赛伯乐投资集团、鼎一投资合作,以 LP 身份参与市场投资。
在与专业化投资机构的合作过程中,浙江大学教育基金会也在凭借自身力量参与到创投圈的投资事业中。
2016 年 11 月,浙江大学教育基金会出资 2900 万元 96.67% 持股安吉实学创业投资合伙企业(有限合伙),该公司目前对外出资 1 起事件,间接持股 48 家公司;
2017 年 7 月,浙江大学教育基金会出资 2 亿元 100% 持股浙江大学创新创业研究院有限公司,该公司目前对外出资事件 5 起,间接持股 11 家公司。
从浙江大学教育基金会直接参与投资的创业公司来看,共对外投资 8 家公司,涉及企业服务、新能源、机器人等领域,且包括上市公司、独角兽公司、国家高新技术企业等。

其中,于 2022 年投资的步飞科技带有「浙大基因」。公开资料显示,飞步科技创始人兼 CEO何晓飞,为浙江大学教授、博导,同时也是前滴滴出行高级副总裁、滴滴研究院创始院长。
据浙江大学教育基金会 2022 年年报披露,2022 年浙江大学教育基金会投资总收益达 2.18 亿元。
上海交通大学教育发展基金会:净资产近 30 亿元
对外出资事件 15 起,间接持股 1000 家+公司
上海交通大学教育发展基金会成立于 2001 年,截至 2022 年底基金会净资产为 27.1 亿元。
企查查数据显示,截至 2023 年 11 月 30 日,上海交通大学教育发展基金会对外出资事件 15 起,间接持股公司数量 1000 家+公司。
在对外出资的 15 起事件中,仅有 3 起事件为直接参与创业公司的投资,这家公司分别为:
景昱医疗(持股 0.68%)、领微科技(持股 15%)、紫竹高新区公司(持股 2.5%),其余的 12 起事件均为参股子基金。
企查查数据显示,上海交通大学教育发展基金会于 2012 年 6 月出资 2000 万元参股上海联新二期创业投资中心(有限合伙),当前持股 1.49%,基金管理人为联新隆兴创投。此笔出资事件为上海交通大学教育发展基金会牵手 GP 合作的第一支基金,此后上海交通大学教育发展基金会相继与红杉中国、金沙江创投、君联资本、青松基金等顶级 GP 合作,以 LP 身份参股多支基金。
上海交通大学教育发展基金会参股的深圳市青松三期股权投资基金合伙企业(有限合伙),当前出资事件数量达 67 起,在一众参股子基金中投资活跃度最高,该基金投资了瑞云冷链、美丽修行、小象驿站等企业。

上海交通大学教育发展基金会参股的其他投资活跃基金还包括持股 8.22% 的苏州金沙江朝华二期创业投资合伙企业(有限合伙),当前出资事件 38 起;持股 0.84% 的宁波梅山保税港区红杉铭盛股权投资合伙企业(有限合伙),当前出资事件 35 起。
不过,上海交通大学教育发展基金会自成立以来出资额最大事件当属 2019 年 12 月出资 5 亿元创办的上海交大菡源创业投资合伙企业(有限合伙)(简称「交大菡源创投」),当前持股 99.8%。交大菡源创投目前对外出资事件数量 17 起,主要以 LP 身份参股多支基金,以此间接持股了车萝卜、永安在线、昆易电子等多家公司。
此外,上海交通大学教育发展基金会间接持股的 1000 家+公司中,包括 A 股上市企业威尔泰间接持股(0.61%)、独角兽企业思必驰(间接持股 0.5%)、国家级高新技术企业看看智能(间接持股 1.23%)等。
据上海交通大学教育发展基金会 2022 年年报披露,2022 年上海交通大学教育发展基金会投资总收益达 3307.9 万元。
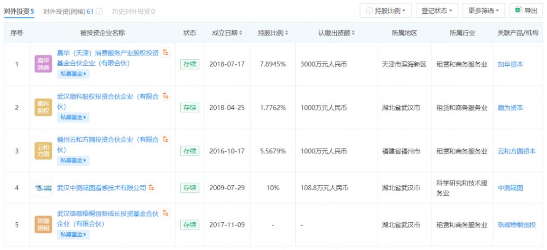
武汉大学教育发展基金会:净资产超 10 亿元
对外出资事件 5 起,间接持股 61 家公司
武汉大学教育发展基金会成立于 1995 年,成立之初原始基金规模为 1000 万元,截至 2022 年底基金会净资产为 11.26 亿元。
截至 2023 年 11 月 30 日,武汉大学教育发展基金会对外出资事件 5 起,间接持股公司数量 61 家。
2022 年 3 月,武汉大学教育发展基金会发布关于遴选委托投资机构报名工作的通知。通知中表示,武汉大学教育发展基金会为更好地开展投资活动,实现基金会资产的保值增值,启动公开遴选武汉大学教育基金会委托投资机构报名工作。
在此之前,武汉大学教育发展基金会已经与顺为资本、加华资本、云和方圆资本以及珞珈梧桐创投进行合作,参股出资上述 VC 管理的 4 支不同子基金。
事实上,武汉大学教育发展基金会自成立至今的 5 次对外投资事件中,仅 1 起事件为参与创业公司的投资,该公司为中测晟图。据某招聘软件上介绍,中测晟图为武汉大学和中测新图 (北京) 遥感技术有限责任公司联合设立,是以武汉大学教育发展基金会投资该公司也就在情理之中了。

注:图片截选自企查查武汉大学教育发展基金会对外投资数据
至于其余的 4 次出资牵手 VC 机构合作,很大原因在于武汉大学教育发展基金会暂未建立专业投资运营团队。武汉大学教育发展基金会秘书长邓小梅今年接受采访时表示,基金会也在谋划组建专业的投资团队,但考虑到成本及人才等因素,所以目前的解决方法是加大委托投资工作力度,将捐赠资金更多地委托给头部优质金融机构进行打理。
在与 GP 合作参股的 4 支基金中,武汉大学教育发展基金会出资额最高的为 2018 年 12 月出资 3000 万元持股 7.89% 的嘉华(天津)消费服务产业股权投资基金合伙企业(有限合伙),该基金由加华资本管理,对外出资事件 7 起,间接持股 21 家公司。据武汉大学教育发展基金会 2022 年年报披露,参股该基金期间获得近 195.1 万元的分红收益。
于 2018 年 5 月出资 1000 万元参股的武汉珞珈梧桐创新成长投资基金合伙企业(有限合伙)持股比例最高,当前持股 10%,对外投资了 7 家公司,包括天壕新能、喻芯半导体、康录生物、林立新能源科技等企业。
此外,武汉大学教育发展基金会间接持股的 61 家公司中涉及智能装备、物流、电商零售等领域企业,包括产品外观瑕疵检测服务商深视科技、物流行业 SaaS 平台提供商钢蜂物流科技、心率传感器芯片研发商维客昕微电子等。
据武汉大学教育发展基金会 2022 年年报披露,2022 年武汉大学教育发展基金会投资总收益达 951.8 万元。
附:

原标题:《出资百家GP,持股千家公司,看清北交浙等高校基金会如何布局创投圈》

