AI巨头大消息!董事长套现超23亿,参与定增盈利颇丰!影响多大?
原创 林乔 券商中国

8月14日,科大讯飞公告,当日董事长刘庆峰减持3995.61万股公司股份,占流通股总数的1.8778%。
本次减持的股份源于刘庆峰2021年参与公司定增认购的股份,而减持套现的资金也用于偿还参与定增时的融资款。年内随着人工智能的再度爆火,科大讯飞股价迎来了久违的东风,涨幅一度超过130%,据记者粗略统计,刘庆峰及其控制的言知科技参与2021年定增事项浮盈已经超过21亿元,可谓收获颇丰。
2021年定增事项浮盈超21亿元
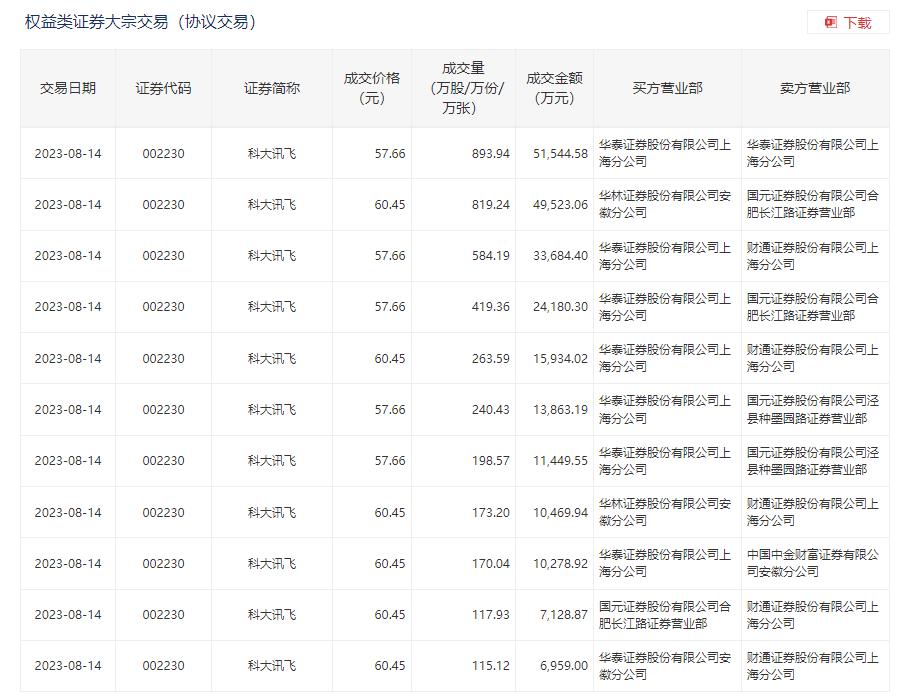
据盘后交易所披露的公告显示,当日科大讯飞大宗交易成交3995.61万股,成交额23.5亿元,占当日总成交额的42.4%,成交均价58.82元,较市场收盘价63.98元折价8.07%,其中最高成交价60.45元,最低成交价57.66元。

(图:深交所官网)
因此刘庆峰通过此次大宗交易实现套现23.5亿元。至于套现后的用途则是用于偿还2021年参与定增的融资款:2021年7月,为巩固公司控制权,满足公司业务快速发展带来的营运资金需求,增强公司抗风险能力,刘庆峰通过质押融资等方式借款筹集资金23.5亿元,用于认购公司非公开发行股份,上述债务已到期。为此,刘庆峰需要减持股份用于偿还上述借款本金。
翻阅2021年定增公告可知:科大讯飞非公开发行不超过7639万股股份,发行价格为33.38元/股,募资约25.5亿元,发行对象为刘庆峰及其控制的言知科技(刘庆峰本人认购7040万股,成本约为23.5亿元,全部通过质押融资筹得;言知科技认购599.16万股,金额约2亿元)。
14日,刘庆峰通过大宗交易减持了3995.61万股,实现了参与定增的借款的覆盖,因此,个人参与定增的股份还剩约3044万股,即全部为参与定增的“浮盈”,若按照收盘价63.98元/股计算,浮盈金额约为19.48亿元,如果加上其控制的言知科技认购的股份,粗略计算浮盈超过了21亿元。
为何选择此时减持?
据了解,股份限售期为18个月,因此从上市首日起算,可上市流通时间为2023年1月19日。但回顾历史行情时发现,1月19日当天股价“仅”报收38.55元/股,定增浮盈有限。而年内随着人工智能的再度爆火,科大讯飞股价迎来了久违的东风,涨幅一度超过130%,刘庆峰参与定增的事项也随之斩获颇丰。
在股价在历史高位徘徊之际,意图减持套现的并非刘庆峰一人:
7月12日科大讯飞公告,3月21日至7月10日,股东中科大资产经营有限责任公司减持842.11万股公司股份,占流通股总数的0.3958%,交易额5.97亿元,交易均价每股70.92元。减持后该股东持有7507.68万股公司股份,所持流通股数量占流通量比例为3.5283%;
8月1日科大讯飞公告,股东中国移动通信计划于2023年8月22日至2023年12月31日减持不超2315.67万股,占公司总股本的1.0%。本次减持计划实施前,中国移动通信持有科大讯飞2.48亿股,占公司总股本的10.7%。
公司表示,大宗交易时点选择综合考虑以下两方面因素:
1、公司在应对美国极限施压背景下,2023年在核心技术自主可控和星火认知大模型方面战略聚焦投入,2023年上半年短期经营业绩面临着较大压力,如果在半年报发布前的可减持时间内进行减持,有可能会在信息不对称的情况下对市场形成重大误导,因此刘庆峰在半年报没有全部披露之前不减持;
2、8月15日公司将召开讯飞星火大模型V2.0发布会,本次发布将在业界高度关注的代码能力和多模态能力上进行重大升级,同时和华为联合发布基于国产算力的星火一体机。此外,国家网信办联合发改委、教育部、科技部、工信部、公安部、广电总局发布的《生成式人工智能服务管理暂行办法》将在2023年8月15日正式施行,人工智能产业有望迎来规模化增长的政策红利。如果刘庆峰在8月15日发布会之后减持股票还债,公司围绕讯飞星火大模型开展的各项积极市场推广活动,有可能被市场误读成为了减持目的而刻意炒作股票,对下阶段产业发展带来不必要的负面影响。
综合考虑以上两方面因素,刘庆峰选择在半年报发布之后,星火认知大模型重大版本升级发布会之前的时间点减持股票偿还债务。同时为避免对二级市场的冲击,采用大宗交易的方式并付出对应的折扣代价。
上半年利润剧降
作为人工智能板块的龙头企业,数月以来科大讯飞在资本市场风头正盛,但人工智能的应用以及带来的经营情况的改善并非朝夕之间,上半年公司交出的“成绩单”也较为一般:8月11日晚间公告称,上半年净利润7357.2万元,同比下降73.54%;营业收入78.42亿元,同比下降2.26%。
但二季报出炉后,各家券商纷纷表示看好,并给予增持或买入评级。如光大证券研报指出,讯飞星火认知大模型推动了科大讯飞开发者生态的蓬勃发展,5月6日星火大模型发布后,讯飞人工智能开放平台的开发者团队数量在两个月内增加85万。
6月9日,“讯飞星火认知大模型”V1.5版本进一步优化,包括开放式问答取得突破,多轮对话和数学能力再升级,文本生成、语言理解、逻辑推理能力持续提升等。
讯飞星火认知大模型发布后,2023年5月-6月,公司C端硬件GMV创历史新高,同比翻倍增长。以学习机为例,5月、6月,大模型加持后学习机GMV分别同比增长136%和217%;讯飞AI硬件(AI学习、AI办公、AI健康)在“618”期间销售额同比增长125%。
据光大证券展望,下半年,讯飞星火认知大模型还将持续突破升级,升级关键里程碑包括:8月15日,讯飞星火认知大模型将发布V2.0升级版本,代码能力和多模态交互能力将实现重大升级。10月24日,讯飞星火认知大模型或将实现通用模型对标ChatGPT,且实现中文超越、英文相当。
机构持股方面,基金对科大讯飞的青睐随着行情的演绎达到了历史高点,截至上半年末公募基金共持有11.39%流通股,为近七年来的峰值。万家基金以3195.06万股位居公募基金持股量榜首,黄兴亮旗下多只产品二季度选择了增持,此外,华安基金胡宜斌、前海开源基金曲扬、杨德龙以及诺安基金蔡嵩松所管产品均重仓持有科大讯飞股票。
原标题:《AI巨头大消息!董事长套现超23亿,参与定增盈利颇丰!影响多大?》

