中建玖合66.8亿元“触顶”价格竞得北京朝阳区太阳宫地块
澎湃新闻记者 李晓青
2022-06-01 20:16
来源:澎湃新闻
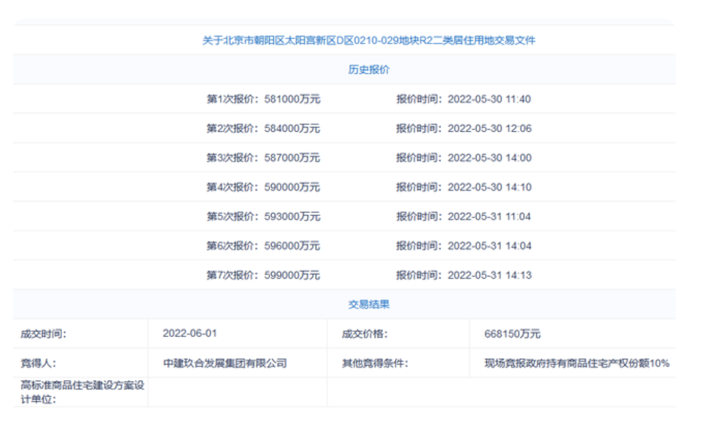
6月1日,在北京第二批集中供地进入现场竞价环节中,备受关注的朝阳区太阳宫地块最终被中建玖合以66.815亿元的价格“触顶”收获。
该地块为朝阳区太阳宫新区D区0210-029地块R2二类居住用地,在经历了“触顶”上限价格66.815亿元、竞政府产权触顶10%、摇号环节之后,最终被中建玖合摘得。
参加这宗地块现场摇号的竞价企业有大悦城+厦门国贸、中建智地、城建+华润、中建玖合、首开+保利+建工、金茂及中海。
根据土地出让文件,太阳宫地块用地建筑面积为7.57万平方米,起始价为58.1亿元,起始楼面价为76700元/平方米,销售指导价为130000元/平方米。最终该地块触顶成交,成交价66.815亿元,溢价率15%,折合成交楼面价约88000万元/平方米。文件规定,该地块设定土地合理上限价格约为66.815亿元,当竞买报价达到土地合理上限价格时,转为竞报政府持有商品住宅产权份额程序,当达到政府持有商品住宅产权预设份额10%时,转为现场摇号方式确定竞得人。
需要注意的是,此前太阳宫地块就备受关注,吸引了7家企业报名。截至5月31日,该地块出现7次报价,总价达到59.9亿元。从区位来看,太阳宫地区位于北三环外,附近有10号线太阳宫站、13号线芍药居站等。从中介网站披露的周边二手房挂牌价来看,目前太阳宫片区的二手房挂牌均价超过120000元/平方米。从销售指导价130000元/平方米来看,这是北京第二批集中供地销售价格最高的地块。
