她做起了VC
老板娘坐镇,韵达系VC浮出水面。
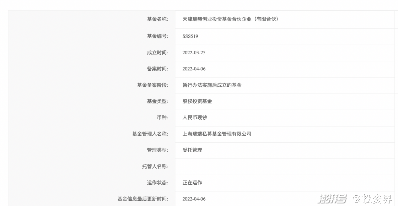
投资界-解码LP获悉,不久前,韵达股份公告称,公司控股子公司上海瑞端私募基金管理有限公司(简称“上海瑞端”)参与投资设立了天津瑞赫创业投资基金合伙企业(有限合伙)。中基协官网显示,新设立的基金完成了私募基金管理人备案登记。
说起韵达,自然离不开这对从浙江桐庐走出的夫妻——聂腾云与陈立英。1999年,聂腾云夫妇离开了哥哥聂腾飞创办的申通,在上海成立了韵达。创业前十年,聂腾云与陈立英一直住在公司宿舍,不辞辛苦。而后,韵达曾凭借价格战杀出重围,更借着电商一跃而起。2017年,韵达借壳上市,最新市值440亿人民币。实现财富自由后,聂腾云与陈立英开始密集出现在VC/PE圈。
韵达备案了一家私募基金,背后是她
中基协备案信息显示,韵达旗下新基金天津瑞赫创业投资基金合伙企业(有限合伙)(下称瑞赫基金)已于今年4月6日完成备案登记,基金管理人为上海瑞端。
从股权结构来看,上海瑞端以自有资金出资人民币100万元,占瑞赫基金注册资本的9.09%。而该基金大股东为韵达联合创始人之一、韵达联席董事长陈立英,占股约81.82%。
瑞赫基金的设立故事可以从3年前讲起。2019 年,韵达为了投资物流行业及上下游相关产业中的非上市公司股权项目,宣布设立投资基金合伙企业。同年年底,瑞赫基金诞生,但至今尚未出手一个项目。与此同时,韵达还参与投资设立了珠海横琴瑞紫创业投资基金合伙企业(有限合伙)(简称 “瑞紫投资”)。目前,上述两支基金均由上海瑞端管理。中基协网站显示,上海瑞端成立于2018年3月,2019年7月完成登记,是一家私募股权、创业投资基金管理人。而该公司背后最大股东宁波梅山保税港区福杉投资有限公司即福杉投资,后者由韵达股份100% 持股。
目前,福杉投资是韵达的主要投资平台,以物流、电商为主线,陆续投资了丰巢、德邦快递、浙江驿栈、正正电商、幸福西饼、海仓科技等10余家公司。其中,幸福西饼是韵达最近一次出手的项目。2008年成立的幸福西饼原本是做线下烘焙连锁品牌,2013年转型做互联网蛋糕,通过建立“中央工厂+卫星工厂+自建冷链物流”模式,保证蛋糕新鲜现做、准时送达。2021年底,韵达曾参与了幸福西饼最新一轮亿元融资。
物流行业,一直是各大巨头混战的江湖。即便一个投资动作,依旧可以看到巨头厮杀混战的场面。从韵达投资并退出丰巢科技的一系列操作,外界便可略知一二。
2015年,顺丰、申通、中通、韵达、普洛斯中国共同投资创建了丰巢科技,主要研发智能快递柜。而后两年,韵达不断入股丰巢科技。但2018年成为了一个重要转折点:当年5月,福杉投资拟以自有资金7.17亿元,投资菜鸟供应链全资子公司“浙江驿栈”;随后一个月,韵达发布公告称,旗下全资子公司签署了股权转让协议,将合计持有的 “丰巢科技” 13%股权转让给深圳玮荣,退出丰巢科技。彼时便有业内人士分析,此次退股行为或许与通达系入股“浙江驿站”有关。一进一退,足以彰显快递江湖的腥风血雨。
在韵达的投资版图中,战略协同早已融合在血液里。2020年5月,德邦股份拟以非公开募股的方式,定增募资6.14亿元,唯一认购方为福杉投资。发行完成后,韵达股份将持有德邦股份6.5%的股权,成为后者第二大股东。根据二者签署的《战略合作协议》,双方将在市场拓展、网络优化和集中采购等方面开展全面合作,合作期限为3年。可惜的是,投资合作尚未满3年,德邦却卖身京东。
如今,韵达旗下基金相继在中基协完成备案,这或许是一个信号:韵达旗下基金或将开始以正规军的身份闯荡VC/PE圈。
夫妻身家300亿,她,还是一位个人LP
在中国快递江湖中,少不了这对浙江夫妇的创业故事。
1976年,聂腾云出生在浙江地少山多的桐庐县,后考入浙江商业职业技术学院。在大学期间,他与同学陈立英相恋,毕业后结为夫妻。1995年,二人大学毕业后,一同进入了聂腾云哥哥聂腾飞创办的快递公司申通。
彼时的申通成立没多久,业务刚从送蛋糕、饼干和酒水,发展到投递商业文件。聂腾云和陈立英进入到申通后,申通的生意也越做越大,业务版图从杭州、上海开始向宁波、金华、南京、无锡等地扩张。1998年,聂腾云哥哥在一次出差过程中因车祸意外去世,申通则由其嫂子陈小英和陈小英的哥哥陈德军接手。多番考虑后,聂腾云与妻子陈立英决定离开申通,自立门户。1999年,聂腾云和陈立英在上海创建了韵达快递。初创阶段,韵达旗下员工只有三十多名,聂腾云夫妇与员工一同住在公司宿舍,一住就是10年。
同一时期,申通迅猛崛起,版图从长三角辐射到华南、华北等地。与此同时,中通、圆通等后起之秀接连成立,“三通一达”的市场格局初现。然而,当时的快递市场还未完全开放,韵达与其他民营快递一样,大多是在夹缝中生存。
韵达通过价格战在行业占得一席之地。熬过了公司最艰难的时刻,聂腾云和陈立英开始思考企业的发展模式问题。于是,他们先是建立了中转站,再逐步收归省会级城市的加盟商为直营,而后通过上线IT软硬件,规范操作流程来实现标准化管理。这一调整为后续业务发展奠定了基础。
2005年,电子商务热潮导致快递行业迅速增长,快递员的足迹遍及全国各地,运送服装、家居用品、电器。借此东风,韵达顺势发展起来,配送网点遍布全国各大城市,成为民营快递重量级企业之一。
直到2016年,韵达再次迎来一个重要转折点——上市。2016年2月,韵达获得复星、中国平安、招商银行、东方富海、云晖资本等B轮融资。早在引入B轮融资时,韵达速递董事长聂腾云就表示:“韵达积极拥抱资本市场,以发展求机遇。”谋划上市意图已不言而喻。
2016年7月,韵达欲借新海股份的壳上市,股份发行价格为19.79元/股;次年1月,韵达快递借壳新海股份在深交所挂牌上市,正式登陆A股市场。2019年,韵达递送包裹达到了100.3亿个,成为继中通之后,全球第二家年业务量突破百亿的快递企业。
不久前,韵达刚发布了2021年年报及2022年第一季度财报。财报显示,韵达2021年营业收入417.29亿元,同比提高24.56%;净利润14.77亿元,同比增长5.15%。截至4月29日收盘,韵达最新市值为448亿。根据胡润研究院发布的《2021胡润全球富豪榜》,聂腾云、陈立英夫妇以305亿元财富。
财富自由后,聂腾云、陈立英夫妇则悄悄做起了个人LP。所谓LP(Limited Partners),即有限合伙人,俗称“金主爸爸”,是创投机构的出资人。不同于聂腾云的低调,陈立英则在创投圈十分活跃,曾投资了深耕家族办公室业务的歌斐资产,还是达晨财智、元璟资本等一众创投机构的个人LP。

