惊呆!拍出8700万,平台紧急叫停!
一张游戏王纪念卡牌被出价到8700多万。
近日,安徽滁州中院对一件刑事案件被执行人的游戏王“青眼白龙”纪念卡牌进行了法拍,起拍价80元。
据封面新闻,这是一张20周年纪念版“青眼白龙”游戏王纯金卡牌,用料为约11g的24K金,限量发售500件,商品上会印有“No.1——500”的收藏编号,属于集换式卡牌中的王者级藏品,官方定价为20万日元(约合1.2万人民币)。
据某二手交易平台信息,目前该同款卡牌挂牌售价高达20万元。
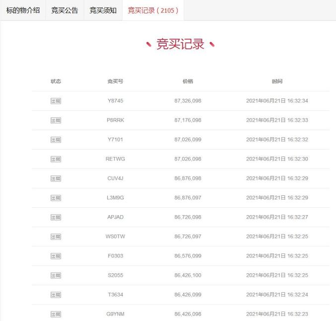
拍卖介绍中,司法平台提醒,该卡牌使用年限不明,长久未使用,无任何配件及说明书,为二手物品,品牌真伪不详,以实地看样为准。令人意想不到的是,根据阿里拍卖最新显示的竞拍结果,该游戏卡牌竞拍出价最高已超过8700万元,整个拍卖有18104人报名,设置提醒有76716人,围观超200万次。
记者查询拍卖记录发现,此番拍卖的首个出价为起拍价格80元,出价时间为昨天下午4:00,但仅过去4分钟,出价就突破了1万。9分钟过去,出价已突破100万。截至下午4:32,该卡牌被竞买超2100次,价格被抬升至8732万。但阿里拍卖官网显示,本场拍卖已被中止,理由为:拍品与实际竞拍价格严重不符,可能存在恶意炒作与竞价行为。
在网友惊叹半小时拍出8700万天价的同时,这张卡牌背后的主人,也引起了广泛关注。据北青-北京头条记者,该卡牌主人张某杰出生于1995年,因涉嫌贪污被捕。知情人士称,张某杰曾负责房产资金托管工作,总共贪污了将近7000万元,当地法院于去年11月被判处无期徒刑,没收个人全部财产。据安徽省滁州市人民检察院起诉书,经依法审查查明:2016年至2019年4月,被告人张某杰在滁州市*******存量房资金托管岗位工作期间,利用其填写托管协议、开具资金托管凭证和收取买房托管资金等职务便利,采取收取托管资金不入账直接侵吞、伪造收款事实利用单位账户中公款支付其个人买房费用、虚构买房事实骗取单位公款等方式,多次贪污存量房托管资金计6993.25万元人民币。
参与拍卖门槛极低:
缴100元保证金就可参与
记者发现,卡牌出现如此不可思议天价的原因,或许在于参与拍卖的门槛很低。
根据淘宝方面的公开资料,本次拍卖起拍价为80元,加价幅度为1元,参与竞拍保证金仅需100元。
根据相关规则,如果拍卖成交后买受人悔拍的,系统会扣除保证金款项用于赔付,竞拍者违约仅损失100元的保证金。
恶意出价、浪费司法资源后果严重曾有人为恶意出价并悔拍的行为,付出过沉重代价。
据大庆市中级人民法院微信公号消息,2019年1月11日,大庆市中级人民法院对一恶意竞买人作出处罚。处罚详情显示,竞买人徐某某在没有购买意愿,明知资金不足,无力支付拍卖款的情况下,在竞买中恶意抬高价格,连续出价16次将起拍价11万元的拍品抬高至4600万元,并最终网络成交,后以没有支付能力为由拒绝缴纳拍卖余款4598万元。
因徐某某恶意竞拍的行为严重干扰司法拍卖秩序,妨害了法院的正常执行工作,损害了其他正当竞买人的合法权益,大庆中院依照相关法律规定对其处以司法拘留十五日,并处罚款10万元的处罚。
根据《最高法关于人民法院网络司法拍卖若干问题的规定》第二十四条规定,拍卖成交后买受人悔拍的,交纳的保证金不予退还;《最高法关于人民法院民事执行中拍卖、变卖财产的规定》第二十五条第二款规定,重新拍卖的价款若低于原拍卖价款,所造成的差价、费用损失等,由原买受人承担。此外,《民事诉讼法》相关规定指出,对于在司法网拍中恶意抬价,扰乱司法拍卖秩序的买受人,人民法院可以对其罚款、拘留,构成犯罪的,还会依法追究刑事责任。
不是什么都能拿来开玩笑的!↓↓↓
来源:证券时报
原标题:《惊呆!拍出8700万,平台紧急叫停!》

