智能时代下技术革新与政府治理的范式变革
摘要:
技术革新是考察政府治理变革的重要变量。自第一次工业革命以来,政府治理大致经过大生产式管理、电子化治理以及网络化治理三大范式。以大数据、人工智能和区块链为标志的智能革命正重塑政府治理,并通过“渗透—传导—生成”的政府治理变革机制促使计算式治理范式的生成。具体而言,计算式治理的表征表现为治理主体协同化、治理手段界面化以及治理过程智慧化。计算式治理通过为政府赋能和社会赋权两种方式,提升国家获取和使用信息的能力,促进国家治理能力现代化。然而,计算式治理也有其限度,过于强调国家信息能力建设,可能使得个人隐私保护、社会活力发挥以及国家认同提升三个方面受到限制。技术与政府治理的互动史表明,如何开发技术的工具理性并对其运用加以规制是决定技术适配治理的关键因素。
学人简介:
阙天舒,华东政法大学政治学与公共管理学院
吕俊延,同济大学政治与国际关系学院
文献来源:
《中国行政管理》2021年第2期

互联网的普及和发展使得社会的数据量激增,数据已成为国家基础性战略资源。截至2020年10月,全球总计有52亿独立移动用户、46.6亿独立互联网用户和41.4亿社交媒体注册用户,且这些数据仍处于“井喷式”增长的阶段。基于海量的数据,在强大的云计算和机器算法的辅助下,我们迈进了一个普适计算的数字时代。其中,信息数据的数字化以及算法的运算,使我们的社会在数据价值的萃取下愈加清晰可辨。时至今日,人类共经历三次工业革命,而以大数据和人工智能为代表的智能技术正将我们推向第四次工业革命的浪潮。每一次工业革命都带来人类权力关系本质的改变乃至重构,进而推进政府治理范式的变革。在智能时代下,限定于一定物理空间的“固态社会”逐渐迈向时空“脱嵌”的“液态社会”,这一过程改写并重建着旧有的组织形态和制度规范。以“新基建”为标志的新业态将加速政府的数字化转型和智能升级,使其可计算的逻辑进一步展开,并将政府治理引向质的变革。
技术发展是革新政府治理范式的核心驱动力量。本文在技术变革与政府治理革新二者互动的基础上,探讨了在智能时代背景下,计算式治理范式的特征、效度与限度。具体而言,文章首先梳理了技术革新背景下政府治理范式的演进过程,并指出在智能革命时代,计算式治理逐渐发挥重要作用;然后,从“渗透—传导—生成”的机制出发,对计算式治理范式的形成进行规范分析;最后,本文旨在厘清计算式治理范式的效度与限度,使其更好地服务于国家治理现代化。
二、技术变革视角下的政府治理范式演进
技术变革是政府治理范式变革的重要基础和深刻动因。从广义上讲,政府治理技术是其在完成既定目标过程中所采用的工具、策略与方法的总称,既包括自然科学意义上的技术,也包括社会意义上治理技术。就治理效果而言,政府决策的贯彻落实不仅依赖于执行者的素质和态度,更取决于部门机构所采用的政策实施技术,手段而非目标决定了政策执行失败与否。政府治理在技术工具的累积与突破下,愈发成为一种科学管理和技术性治理活动。而技术手段的历次革新,都引发人类认知和社会结构的变革,进而推动政府治理范式的演进。
范式(Paradigm)的概念是由科学哲学家托马斯·库恩(Thomas Kuhn)提出来的,其要义可总结为:科学家所普遍接受的一套假说、理论和信念的总和。一场科学革命,本质上不是简单的科学进步,而是一场范式转换。库恩指出,除非新范式能满足两个非常重要的条件,否则科学革命不会生成:第一,新范式必须能够解决问题,而且非它不可。第二,新范式必须保证,透过旧范式而累积的科学解谜能力,大部分会保留。由此可知,只有开辟一条全新的技术道路,才能跨越技术台阶,实现治理变革。而这种技术跨域往往是“站在巨人的肩膀上”,是对原有范式的扬弃与继承。历次工业革命都成为技术革新的契机,而技术变革、社会变迁以及政治适配三者的共同演化形塑了政府治理的范式变革。技术段位的升级加速了社会的结构化变革和“再组织化”进程,进而推进政府治理方式的适应性进化。在技术工具的累积与突破下,政府治理大致经历以下范式
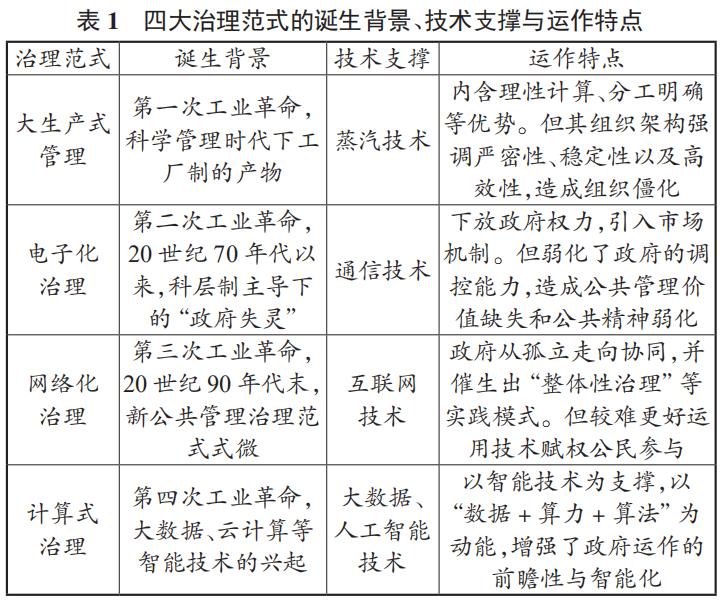
(一)大生产式管理
第一次工业革命催生工业经济的兴起,在蒸汽机的广泛使用下,工厂代替了农庄,进而改变了社会经济的组织形态,迈向了机械生产时代。铁路的发展催生了一个复杂的交通系统,为了防止交通事故的发生及其可能带来的经济损失,就需要政府部门加强控制和管理功能。19世纪末,韦伯意义上的科层组织发端于科学管理时代,进而生成政府治理1.0版——自上而下的大生产式管理。现代文明下的技术组织结构寻求“结果的可靠性”,而科层官僚制所内含等级管理、分工明确、权责清晰等技术优势,使其成为控制分散化工业生产的合法化组织形式。然而,大生产式管理下的组织架构强调严密性、稳定性以及高效性,这必定造成组织僵化、官僚气浓厚。当建立在理性思维之上的现代官僚制遇到常规工作之外的复杂治理难题时,工具理性就会超越价值理性,并试图通过各种方式化解复杂化的难题。究其根本,“科层组织的技术理性难逃金钱、人情以及权力的渗透”,其理性主义只能流于虚幻。
(二)电子化治理
20世纪初,在第一次工业革命的基础上,新一轮的技术革命喷涌而发。第二次工业革命的代表性技术产品是收音机、电话、电视机等,展示了电力的强大力量,为政府治理2.0转型奠定了电子技术的基础。通过时间和空间对信息传递与交流的影响,以电话和电视机等为代表的电子化设备改善了官僚系统的信息流动与工作协调方式。与此同时,科层制回应乏力、行政效率低下等“政府失灵”的负面影响,迫使政府治理引入市场并采纳电子化的技术对其进行纠偏。20世纪70年代,新公共管理作为一种变革的思路,以美国的电子政务(Electronic Government)为典型的应用代表。以电子化治理为表征的电子政务融通信技术于政府治理,通过建立完善的信息系统,下放政府权力,以提供虚拟服务。然而,电子化治理过于强调市场力量的引入,容易形成“中空政府”。这有悖于政府治理的基本价值诉求,造成公共管理价值缺失和公共精神弱化等治理困境。
(三)网络化治理
20世纪末,计算机与因特网的出现与发展迅速成为第三次工业革命的核心技术,并通过广泛的数字基础设施创造了一个互连互通的世界。数字通信技术和网络实现了信息存储、处理以及传输的数字化,极大降低了组织内部的协调成本,也从根本上改变了政府的组织方式。政府部门重构其与公民间的关系,并发展出以顾客为中心的系统。一系列的关系网络将信息系统、政府部门、市场部门以及公民组织串联起来,使得政府机构越来越趋向网络化。网络技术的应用与发展进一步促使政府部门从孤立走向协同,并催生出“整体性治理”的实践模式。整体性治理旨在解决新公共管理运动之后引发的政府碎片化问题,促进部门协作和数据共享。但在公共管理实践创新中,很难做到一种模式对另一种治理模式简单替代。如何更好发挥技术赋权公民参与的特性,形成纵向行政主导与横向社会参与的网络化互动,就迫使网络化治理吸纳最新技术手段,实现治理范式的升级与迭代。
(四)计算式治理
新计算技术在第四次工业革命中进一步强化,而普遍、高效与低成本的数字能力使普适计算(Ubiquitous Computing)的逻辑在政府治理中进一步展开。物联网、机器算法等技术应用将数据信息与智能分析相结合,提供情境数据的新来源,并将政府治理置于更加微观可测的环境中。智能革命时代,数字化将促使人们间的合作和任务对接更精细化,这就要求政府提高数据处理能力,以更好地预测公共服务需求,提高治理的现代化水平。基于此,政府治理嵌入大数据、云计算、人工智能、区块链等智能技术,可有效推进政府治理4.0 版——计算式治理范式的生成(见图 1)。


纵观人类历史,新型的技术革命与社会变革交汇之际,正是政府治理范式转换发生之时。当前,移动通信技术和智能设备的飞速发展,使新数据源持续、大量产生,而无处不在的采集终端和云计算应用使多源流的数据都可以成为“计算面”(Computing Surface)。在过去的50年中,数字存储成本大约每两年就削减一半,而存储密度则增加了5000万倍。大数据作为一种新的生产要素和治理资源,在政府治理能力提升和政府治理范式转换上具有广泛的应用前景。可是,技术革新并不会直接导向治理范式的变革,而是要经历一个技术执行的过程。这一技术执行需要通过变革中的技术与组织中人的认知、组织的结构以及组织的文化相嵌合,才能催生实质上的治理转型。
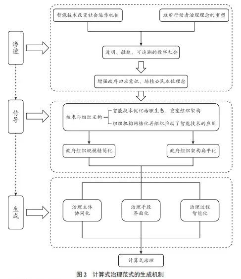
技术发展对政府治理范式的变革依循一种特定过程机制,即“渗透—传导—生成”。首先,技术是被政府组织中的人执行和应用的。因此,技术革新不会直接催生政府治理范式的变革,而是受组织理性、政治约束以及社会结构等技术执行因素的影响。其中,组织中的人对技术的感知、理解与应用至关重要。倘若缺乏组织文化等软性要素的支撑,再智能的技术都无法达致理想的治理效果。以大数据、人工智能、云计算为代表的智能技术手段,逐渐渗透进政府治理的过程,并促使政府管理者转变治理理念。其次,智能技术作为传导中介,将政府治理理念转化为实践,推动政府治理结构的调整。最后,智能技术为政府治理提供了强大的计算能力,并构建起一个与物质世界相平行的“数字世界”,促使以预测为核心的计算式治理范式的生成。
(一)渗透:智能技术转变政府治理理念
在技术决定论者看来,技术的发展可自动地作用于组织制度与社会安排。其潜在的假设是技术进步本身就会催生政府治理变革,而无需组织行动者观念上的适配。这一观点强调,通过反复试验,组织终会跟进最先进的技术。技术决定论者将政府治理变革视为新技术的俘虏,而忽略对政府部门采纳和扩散新技术的内在肌理考察。诺斯(Douglass North)批判了这一理性假设,并指出路径依赖通过文化对人的行为施加有力的影响。组织行动者的行为模式受到既有路径的束缚,只有新技术引发了社会结构的变动,且这种变动反过来重塑行动者的理念时,新技术才会担纲政府治理范式转型的“赋能者”。
一方面,智能技术的广泛应用改变了社会运作机制。在新技术应用的环境下,海量的数据正成为支撑社会数字化运转的“燃料”。追根溯源,“大数据”一词最早出现在20世纪90年代的美国,但直到Web2.0时代的到来,通过数学分析挖掘出更大价值的数据才成为可能。大数据技术的本质是在数据搜集和存储的基础上,通过对海量数据进行分析,获得有价值的产品和服务。数据本身并无价值,其应用的关键是如何经过计算对蕴含在数据中的信息进行相关性分析,以服务于使用者。强大的云计算能力提高了可利用数据的广度,对非结构化数据的抓取增加了有效信息的规模。数据、算法和人工智能是现阶段计算科学的三大要素。人工智能算法以大样本的数据集为基础,可以更精准、更智能地预测事情发生的可能性。智能技术的进步进一步强化了数字信息的作用,进而推进社会和政府朝向透明、敏捷、可追溯的数字化方向转型。
另一方面,社会结构运作机制的变化重塑政府行动者的治理理念。大数据越来越成为一种数据基础设施,突破了既有的信息基础和行动结构,改变了政府的治理理念。传统中国数目字管理水平同西方存在较大差距,这在很大程度上是由于治理理念的落后。政府结构根深蒂固且高度政治化,对其结构化重组要打破组织中的人观念上的桎梏。当下,技术的革新深刻影响了政府治理的理念。应当看到,在智能技术应用之前,政府决策依赖于少量的信息,且缺乏回应性和“顾客意识”。然而,在大数据和人工智能时代下,数据存储量增加、数据处理能力增强,这就逐渐改变了政府治理对决策信息应用的预设立场。具体而言,智能时代下政府治理倾向于趋势性、相关性和前瞻性等战略分析。通过万事万物数据化与数据交叉复用结合,政府主体的治理理念也越来越注重精准地把控公民诉求,并不断培植贴近民众、服务民众的治理理念。
(二)传导:智能技术重塑政府组织架构
技术不仅是社会变迁的赋能者,而且是组织变化的催化剂。因此,治理范式的革命,既要看到技术工具的变革,也不能忽视组织的转变。技术决定论者过于强调技术自主性,其线性思维忽视了技术发展与组织变革间复杂的作用机制。技术的社会建构论着眼于考察技术与其相关联的机构,并注重分析影响技术应用的特定组织方式。可见,无论是技术决定论还是技术建构论,其视野都偏执一方,没有看到技术与组织结构的互构作用。从“互构论”的角度上看,技术仅仅是个发展的媒介,真正起作用的是组织及其主体间的互动。因此,智能技术应用于政府治理,不仅仅是一个政府部门技术改进的问题,更是一个社会再组织的问题。一方面,人工智能、区块链等作为国家治理现代化的技术驱动力,能够优化治理过程的生态环境,扩展制度设计的弹性空间,是重塑政府组织架构并引发治理转型的重要力量。另一方面,政府组织机构的网络化再组织也推动了智能技术的应用和拓展,实现技术与组织的相互赋权。
技术远非一套与生产和消费有关的机械、工具或系统,而是形塑社会结构和组织架构的重要力量。新技术在政府治理中的引进,需要全新的组织结构与之适配,是为技术的组织刚性。当下,智能技术传导至政府部门,转变政府行政理念和制度模式,进而重塑其组织架构。一方面,政府组织规模更加精简化。在人工智能、区块链等智能技术的辅助下,政府部门信息处理能力增强。政府管理者可拓展有效管理的领域,进而减少过细分割的下级部门,实现组织规模精简化。另一方面,政府组织架构更加扁平化。传统官僚制自上而下推动决策的实施,由于层级较多,且层级间的信息沟通不畅。在智能时代下,技术的双向赋权有效地拉近了政府与公民间的距离,并突破治理的时空限制以实现全景融合。政府与个人之间实现直接沟通,这便于将国家意志直接贯彻于国民个体。传递层级的缩减有利于政府内部组织结构的流程再造,降低信息不对称,进而促进政府治理结构的扁平化。
(三)生成:智能技术革新政府运作过程
精简、扁平的政府治理结构推动一个高效率政府治理模式的生成。基于数据应用的计算式治理是一个高效、智能的治理模式。计算是智能时代政府治理的典型特征,而以大数据、人工智能等为代表的智能工具为建立在相关关系分析法基础上的预测提供了技术支撑。海量的数据库与机器学习处理技术的应用,推动了社会科学的定量分析,计算社会学应运而生。计算社会学推动了数据驱动决策、机器学习预测以及社会网络分析等研究,循“数”治理逐渐成为政府主要的治理方式。智能技术对政府治理的革新,从治理理念的渗透到政府组织架构的传导,最终生成计算式治理的运作范式。计算式治理改变传统政务内容和流程,使之变成基于计算的治理模式。具体而言,政府计算式治理主要有如下几个运作特点(见图 2)。

第二,从手段维度上看,计算式治理通过搭建数字化的治理界面,打通不同层级政府主体数据流通闭环,以避免部门间数据信息应用的碎片化管理和“巴别塔”效应。在政府治理中,保持治理韧性的关键基础是实现不同治理主体间信息的融通与共享。以往治理范式难以有效解决“信息孤岛”的原因在于,数字化是因为业务流程转变而非全面改善政府数字化能力。通过搭建面向公民的统一界面(“一网通办”“接诉即办”等)和面向决策者的统一界面(“一网统管”“城市大脑”等),计算式治理可发挥大数据、5G技术等“粘合剂”和“钩连网”的作用,以更快的网络传输能力处理多源异构的数据,建设因势利导、顺势而为的平台驱动型政府。
第三,从过程维度上看,计算式治理实现了从政府决策到执行的智能响应,改末端治理为全过程的生命周期治理。这种全生命周期的智能化治理体现在需求挖掘、决策优化和政策反馈等方面,从而形成基于数据驱动的智慧治理闭环体系。物联网的应用,辅之于海量数据实时分析技术,可以聚集成百上千万个传感器数据点,实现政府运作过程的数据整合并执行预测性分析,进而为政府治理提供决策支持。
四、计算式治理范式的效度与限度
以智能技术为引领的第四次工业革命正推动着一个数字化社会的生成。在数字化社会中,数据及对其加工后生成的信息正重塑政府的治理形态。智能技术的应用降低了治理的不确定性,但新技术的采用同时也是不确定性的来源。一方面,政府治理理念的转变和组织架构的重塑要求强化国家对社会信息的把控和处理能力,进而为国家赋能和社会赋权。另一方面,过于强调数字化国家能力建设,可能使得个人隐私保护、社会活力发挥以及国家认同提升受到限制。计算式治理的效度与限度可简化为对国家信息能力建设辩证法的考察(见图 3)。技术与政府治理间的互动表现出明显的“二律背反”。智能技术在增进社会福祉的同时,也潜藏系统性的社会和政治风险。因此,我们在强调技术治理赋能政府治理的同时,也应重视治理技术——对技术本身予以规制,以实现治理变革和技术边界的动态平衡。

以大数据和人工智能为技术支撑的计算式治理,对提升国家能力、促进国家治理现代化具有重要意义。国家能力主要指政府机构应对社会压力,可有效贯彻自我意志和实施公共政策的程度。无论是迈克尔·曼(Michael Mann)对穿透社会来落实国家政策意图的强调,还是乔尔·米格代尔(Joel Migdal)对国家能力主体间性来源的论述,抑或是彼得·埃文斯(Peter Evans)“嵌入式自主”的论断,都表明国家能力是一个相对的概念,要将其放在国家和社会相互关系的视角下分析。具体而言,国家能力可细分为汲取、调控、合法以及强制四种类型。在智能时代下,技术赋能政府治理,国家治理能力的划分也应进一步延伸。计算式治理提升了国家信息能力,这一能力的提升建基于政府对社会化信息的汲取与应用。政府通过将散落在社交媒体等网络中的信息加以整合,与社会建立数据化的连接。通过数据的互联互通,政府获取的信息总量增加,且对其处理能力也得以提升。因此,政府信息能力的提升,可以强化基础性的国家能力。政府运用技术化的手段对社会事实收集、分类与处理,这为政府的汲取、决策、监管、开放、回应以及服务等能力提升奠定基础,进而提升国家治理能力。
第一,计算式治理与政府赋能。大数据、云计算等技术使海量数据的关联分析成为可能,为政府预测未来事件发生提供技术支撑。作为一种积极的治理方式,计算式治理在为政府治理赋能上具有广阔的应用前景。首先,计算式治理提高政府决策的民主化。决策能力是国家治理能力的核心要素,科学民主的决策能力是智能时代提高国家治理效能的桥梁与纽带。政府可借助数据挖掘和处理技术,将散落于社会的模糊事件有机关联,计算并分析出问题发生的可能概率,从而形成实时的见解和科学合理的决策。此外,政府通过对新媒体平台中网络舆情的计算和分析,可重点追踪民众关心的热点话题,以更好回应公民诉求,做到决策贴合民意。计算式治理还注重对实时变化数据的收集与分析,便于政府部门掌握最新的信息数据,使决策最大程度上贴合实际。基于此,政府决策将基于对“高清晰社会”数据的分析做出,而摆脱主观臆断,进而提升公共决策的民主化。
其次,计算式治理实现服务供给的精细化。计算式治理使政府基于海量的信息展开运作,进而倒逼政府强化信息资源汲取能力。政府信息运用能力的提升,将传统的模糊治理方式逐渐转向清晰治理,这为开展更加高质量和个性化的服务打开了大门。一方面,信息的开放和流动代表着知识和权力的开放和流动。在智能时代,政府部门的运作方式将更加公开和透明,这就使政府公共服务的供给始终处于“第三只眼”注视与追踪之下,进而确保公共服务质量,有效避免食品、药品等行业安全问题。另一方面,在政府公共服务供给过程中,对机器算法等技术的采用,提升了数据挖掘的精确性。通过对公民“数字轨迹”的深度挖掘,政府部门可精准计算出民众的服务诉求,进而引导公共服务产品更加个性化和人性化,实现公共服务尤其是数字公共服务的精准匹配与高效率供给。
最后,计算式治理提升应急管理的智能化。计算式治理通过对治理数据的全面采集,提高了政府的溯源和分析能力,并在事前、事中与事后三个阶段展现其在应急管理中的优势。其一,在公共危机事件爆发之前,政府可以利用海量的数据预测危机爆发的可能性,从而将危机事件扼杀在萌芽之中。其二,在公共危机事件发生阶段,政府可通过计算式治理将多源异构的数据快速处理成有效信息,有针对性地减少危机带来的灾难和损失。应急主体可以通过人工智能等技术,实现对危机事件迅速研判,并快速生成电子应急预案。以2020年暴发的新冠疫情为例,计算式治理在疫情防控中发挥了突出作用。例如,政府利用健康码精准收集到了空间、时间和个人的三维数据,并基于健康情况的计算,科学划分风险等级,制定差异化的策略,以服务于疫情防控。“健康码”的应用彰显了计算式治理在危机应对中的价值。其三,在公共危机事件发生后,政府利用计算式治理实现精准追责。新媒体作为信息传播的载体,便于政府部门对海量社交数据的追踪和关联分析,以还原社会危机发生的过程,将责任落实到具体的个人。
第二,计算式治理与社会赋权。计算式治理是政府治理现代化的表现形式,有利于为社会赋权,进而推动政府决策的开放、权力的回应以及治理的协同。
首先,计算式治理提高了政府开放程度,使得政府治理的“黑箱”变得有迹可循,而一切偏离公共价值的行为都难以遁形。随着智能技术的发展,社会成员政治参与和意见表达的成本逐渐降低,进而形成一个“参与型”社会。在这样的社会中,每个社会个体均可利用信息化手段表达自身诉求,进而形成了海量的“微”数据和“微”事件。计算式治理要求政府加总和筛选舆论场中的信息,进而加强国家与个体的有效连接,以便于公民利用交叉信息监督政府的行为。
其次,计算式治理可增强官民互动,增强政府对公众诉求的回应性。计算式治理使得之前的决策周期和机制捉襟见肘,因而需要采取敏捷治理(Agile Governance)的方式。这一概念图示试图将技术本身的敏捷性、灵活性和适应性与治理对象的实时特征相匹配。但政府治理的公共性特征意味着敏捷治理不应该只为了追求速度而牺牲回应性。政府回应是善治的基础,其本质是官民互动。计算式治理通过打造面向公民的统一界面,促使不同利益主体的意愿及时呈现到决策部门手中。与此同时,通过对网络舆情的深度分析,政府可以全过程跟踪并精准把握公众的社会需求和政治期望,使其决策更好地回应民众的意愿。政府治理回应能力的提升,强化了其适应性治理能力,有利于公民诉求获得精细化以及精准化地解决。
最后,计算式治理将推进治理的协同,并吸纳私营部门、社会利益相关者、政府和传统监管机构参与到政府治理活动。在计算式治理中,政府在为社会确定更灵活的治理结构方面会起到关键性作用。然而,计算式治理主体不可以也不应该由政府独自承担。如果各主体助力建立更有效和可持续的技术治理方法,那么多元主体就可以在塑造未来的过程中产生深远影响。新兴技术的“大众化”为个体提供机会,使其参与到智能技术形塑的治理过程之中。计算式治理利用大数据、机器算法等智能技术,搭建政府驱动的数字化治理平台,建设政府牵头、市场参与、社会合作的协作型政府,推动政府服务的智能化与精细化。
(二)计算式治理的限度
计算式治理为政府提升决策水平、改善服务质量以及提高应急管理能力等方面都带来了革命性的变化。“一切皆可计算”的理念也为政府的精细化治理以及敏捷化反应锚定了航道。一个值得探讨的问题是,智能技术辅助下的计算式治理范式是否会助长政府决策者“理性的自负”,去规划甚至改造一切可治理的对象?詹姆斯·斯科特(James Scott)已通过比较分析揭示出,对于信息的理性化和标准化以服务于雄心勃勃的社会改造计划,伴之以对于地方性知识的蔑视,常常招致灾难。如果说计算式治理破解了康德的难题,让政府决策者能在施政中大胆运用理性,那么哈耶克的警示就更显价值:如果妄想用理性彻底征服无知,消除所有的不确定性,便是人类的另一种不成熟。
赫伯特·西蒙(Herbent Simon)的有限理性理论也揭示出,人的知识是有限的,决策者既不可能掌握全部的信息,其决策过程也容易受信息不完全性的支配或干扰。因此,决策者无法做出完全理性的决策,而只能是在其能力范围的有限决策。他继而提出,如果能利用存储在计算机里的信息来辅助决策,人类理性的范围将会扩大,决策的质量就能提高。基于大数据和智能算法的计算式治理,极大的延展了人类的理性能力。但值得反思的是,政府治理过程中获取的数据是否就是准确、全面和及时的?数据又是否等同于事实本身?是否一切治理的对象都是可以测量的?因此,计算式治理至少应从个人、社会与国家三个维度界分使用的限度,以更好的推进国家治理现代化。
第一,对个人的限度:以不侵犯公民隐私为基准。智能技术在为政府赋能的同时,不能忽视个人这一治理主体,以实现为公民赋权。然而,政府将数字计算嵌入治理,却可能造成了人的脱嵌,并面临着将人异化成了一个个数字的治理危机。一个值得探讨的问题是,数据的搜集和利用是否是有边界的?人是否有不被数字化的权利?数据可否侵入人的所有空间?西方学者对现代国家发展过程中对公民隐私侵犯的行为提出过系统的批判。杰里米·边沁(Jeremy Bentham)所谓的全景敞视监狱(Panopticon)和米歇尔·福柯(Michael Foucault)对权力术下的“纪律社会”的论述,都表达了对国家利用治理术侵犯公民隐私和尊严等问题的隐忧。但西方学者对现代国家发展与公民隐私关系的看法也并非铁板一块。例如,安东尼·吉登斯(Anthony Giddens)就认为现代社会的诞生之初就是一个“信息社会”。作为信息储存与整理的监控,有利于国家与个体间的相互联结,进而实现了一种“国家内部绥靖”。这被视为现代国家建立的重要标志。
可见,现代技术的发展改变了人们对个人隐私的认知,但屡见不鲜的侵犯隐私事件也增加了人民对捍卫隐私的诉求。在互联网中,人们自愿分享着个人信息,这种分享的能力又服务于计算式治理对数据的渴求,个人行为被越来越多地量化。虽然政府出台了诸多措施保障个人隐私和信息安全,但是在大数据时代,这些规则常常沦为无用的“马其诺防线”。这是因为在计算式治理中,个人信息的价值更多地体现在二次利用之中。这就颠覆了当下隐私保护法对个人信息利用的相关规定,即在收集工作开始之前必须告知个人用了哪些信息以及用意为何。该理念可能与计算治理的核心相悖。试想,倘若2020年新冠疫情期间,健康码搜集到的数据在使用前要征得数亿用户的同意,那么政府的抗疫工作也将无法展开。个人隐私的保护就像达摩克利斯之剑一样悬在头上,如何在计算式治理中处理好这一难题,成为政府必须要考虑的因素。
第二,对社会的限度:以不削弱社会活力为边界。计算式治理极大地提升了国家的信息能力,但国家能力和政府治理绩效之间存在着一个“倒 U 型”关系:在一定区间内,国家信息能力的提升有利于推动政府决策民主化、提高公共服务供给质量以及加强应急管理。国家信息能力如果超过某个临界点,则可能因失去任何缰绳而变成破坏性的力量。德隆·阿西莫格鲁(Daron Acemoglu)在《狭窄的通道》中用“被缚的利维坦”一语,表达了类似的担忧。在阿西莫格鲁看来,现存的国家状态包括国家强社会弱、国家弱社会强和“被缚的利维坦”三种类型。一方面,没有国家这一“利维坦”,社会就无法维持正常的秩序;另一方面,“利维坦”过于强大,也可能走向侵蚀社会活力的反面。因此,只有“带着镣铐的利维坦”,才能既维持基本秩序,又不至压倒社会力量。
基于机器算法的计算式治理倾向于将生活中的事物、行为等数据化、可计算化,这实际造成了一种无视现实语境而仅基于算法设计语境的“夷平化”。在计算式治理过程中,算法范畴内的所有事物都可以用机器计算来进行数理阐释。人工智能关联技术可以将分散、孤立的社会个体加以关联分析,以形成特定群体的数据集。但基于算法的阐释难以清晰展示社会的内在肌理,也就使得事物在算法之外的特性隐匿化,走向对社会群体的“脸谱化”(Profiling)解读。算法决策的线性逻辑难以弥合治理主体的多元逻辑,容易侵蚀私人领域的活力。当网络深深嵌入到我们的日常生活中,算法对日常实践的代理(Delegation)越来越普遍时,作为数据来源的我们可能会陷入到“算法犬儒主义”之中。人类复杂的实践就被算法分解为简单可计算的步骤和碎片,并放大现代生活的模糊化。此外,计算式治理的预测倾向如果用来判断和惩罚人类的潜在行为,则是对社会公正乃至个人自由意志的一种亵渎。这样,计算式治理可能走向阻碍现代社会中个体充分自我表达、自我丰富的风险。
第三,对国家的限度:以不损害国家认同为底线。计算式治理虽然没有明确主张信息作为决定一切的力量,但仍强调现代信息技术可以成为塑造社会运行轨迹的治理术支撑。以算法政治为表现形式的计算式治理,可能会加剧“信息茧房”和社会撕裂,进而损害国家认同的根基。以美国大选为例,美国政治选举愈发陷入“话题即政治”的漩涡——争议越大,得票率越高。特朗普在2020年总统竞选过程中的极端言行,反映了计算式治理如何加剧美国社会的撕裂。按照“中间选民定理”,争取选票的两党会采取相同的立场,即选民最偏好的立场的中间分布区。但在“特朗普时代”,无论他做什么,取得什么政绩,似乎对他的支持率都不会有什么影响。中间选民定理预示的走向中间立场的倾向,逐渐演变为观点的极化。这种政治极化下,右派越来越右,左派越来越左。两派之间观点撕裂,没有可调和的地方。在这种情况下,竞选的策略就转向运用极端煽动性的言论,调动支持者积极投票。
在美国大选表现出的党派撕裂和政治极化现象中,计算式治理起到了推波助澜的作用。在选票最大化逻辑的趋使下,各党派为了获得选票利益最大化,不得不强化意识形态特质,形成政治观点的极化。在云计算和算法技术的辅助下,美国两党精英通过计算式治理放大选民的认知偏见。通过将隐藏某种政治意图的消息精准投放给选民,政治精英试图操纵政治舆论、影响选举议程。在貌似自由访问的网络生态中,个人越来越被“技术性地”隔离在具有相同政治倾向、兴趣爱好、种族身份等社群中,进而放大现实世界中的矛盾与冲突。基于此,以智能算法为核心的计算式治理将国内群体塑造成一个个相互敌视的“政治部落”,这种“信息社群化”的现象不仅加剧了美国国内的政治分裂,更危害了国家认同和社会的稳定。
五、结语
进入21世纪,大数据和人工智能所引发的产业变革深刻地诠释着人类进步的征程,并开启新一轮的智能技术革命。在智能时代下,“数据”与土地、劳动力、资本、技术等传统要素一同并列为五大生产要素。数据成为新时代的关键经济要素,也是政府治理现代化的核心治理资源。我国已将大数据作为国家战略部署,以加快推进数字社会和数字中国建设。可见,数据作为一种生产要素,日益成为创新社会治理以及优化政府治理过程的战略资源。当前,国家治理能力和治理体系现代化的推进正是在数据存储和处理能力极大增强的背景下展开的。大数据时代下,我们生活的世界正在逐渐数据化和非结构化,技术的进步正在革新政府治理的范式,推动计算式治理的生成。计算式治理创新了政府决策方式、公共服务供给机制和应急管理模式,进而提升国家的信息能力。
需要强调的是,尽管我们看到了技术发展对政府治理范式变革的重要作用,但本文并不持一种“技术决定论”的立场。这一立场视技术发展为独立的变量,而忽视了人的能动作用。智能技术是一把双刃剑,它在助推国家治理现代化的同时,也面临着一系列挑战。以智能技术为支撑的计算式治理,可能会在隐私、活力以及认同方面分别对个人、社会与国家造成侵犯。因此,技术手段不可能一劳永逸地解决所有政府治理难题,并且技术的应用存在一个组织适配的问题,这使得技术工具对问题的解决不会呈现一个线性的发展过程。技术手段的局限性使得一个问题解决后可能衍生出其它挑战。技术与政府治理的互动史表明,如何开发技术的工具理性并对其运用加以规制是决定技术适配治理的关键因素。因此,计算式治理过程中引发的隐私、活力和认同难题要更多地依赖于人类政治系统来加以解决。为避免技术吸纳治理,通过完善法律、法规以及矛盾解决机制,政府部门可更好发挥计算式治理的作用,实现“善治”变革。
编辑 | 李三民
审核 | Anders
终审 | 李致宪
©Political理论志

ID: ThePoliticalReview
原标题:《顶刊论文 | 智能时代下技术革新与政府治理的范式变革—计算式治理的效度与限度》