出品|WEMONEY研究室
文|罗迹
4月24日,银保监会四川监管局发布《关于关于核准何德好四川锦程消费金融(下称“锦程消费金融”)有限责任公司总裁任职资格的批复》。
此前去年11月5日,银保监会四川监管局就曾发布锦程新董事的任职资格批复,核准何德好锦程消费金融的董事任职资格。据相关媒体报道,何德好入职锦程消费金融前,曾是大股东成都银行人员。
资料显示,锦程消费金融成立于2010年2月,注册资本金4.2亿元,成都银行持股38.86%;周大福企业有限公司持股25% ;凯枫融资租赁(杭州)有限公司持股19%;Hong Leong Bank Berhad(马来西亚丰隆银行),持股12%;浩泽净水国际控股有限公司(下称“浩泽净水”)持股5.14%。成都银行以最高股权比例为锦程消费金融公司控股大股东。
01罚单再现,违规采集信息被罚22.6万
4月22日,央行成都分行公布行政处罚公示表显示,锦程消费金融因违反信用信息采集、提供、查询及相关管理规定,被处以罚款22.6万元。

WEMONEY研究室注意到,锦程消费金融并非首次收到监管罚单。此前,锦程消费金融因贷后管理不到位严重违反审慎经营规则,被四川银保监局罚款人民币40万元,作出处罚的时间为2020年6月28日。
02多次成为被执行人
值得注意的是,此前,锦程消费金融曾列入被执行人信息,执行标的83341元,执行法院为天津市宁河区人民法院。立案日期为2022年4月1日。

除此次外,此前锦程消费金融曾有两次同样被列入被执行人。
2019年1月,锦程消费金融因人格权案件执行成被执行人,执行标的0元,于2019年5月执行完毕。2021年10月,锦程消费金融同样因人格权案件执行成被执行人,执行标的0元,因此案执行标的为撤销不良征信记录,执行费500元,于2021年11月执行完毕。
03股东所持股权被冻结
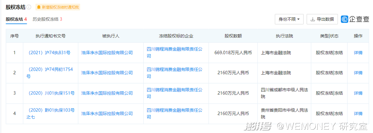
据企查查数据显示,锦程消费金融股东被多次冻结其股权。

作为锦程消费金融股东的浩泽净水持有其5.14%,出资认缴金额2160万元。从2020月4月29日至今,浩泽净水共有4次被冻结其持有锦程消费金融公司股权。其中,冻结日期为2020年4月29日、5月7日和8月13日,冻结股权数额均为2160万元人民币。最近一次2022年1月17日,浩泽净水被冻结资金为669.018万元。
据成都银行2021年年报显示,截至2021年末,锦程消费金融未经审计资产总额为112.82亿元,负债总额为99.38亿元,所有者权益为13.44亿元,实现净利润2.51亿元。
受限于疫情、体量等原因,锦程消费金融去年实现净利润2.51亿元实属不易,在2022年,何德好出任锦程消费金融总裁又将会给出什么样的答卷,WEMONEY研究室将持续关注。