编辑 | 于斌
出品 | 潮起网「于见专栏」
作为共享经济的典型代表之一,共享单车以共享、方便、快捷等优势在我国实现了粗放式的发展,众多以共享单车作为主营业务的出行服务企业借势而起。
其中,哈啰出行便是代表性的企业,于2016年成立后,巧借东风,从共享单车业务起步,逐渐成为共享单车行业头部企业之一,与美团单车、青桔单车在共享单车行业三足鼎立。
然而,激烈厮杀一直是共享单车行业常态,企业盲目投放、恶性竞争等内卷行为逐渐导致整个行业与其蓬勃发展的愿景背道而驰,也呈现出发展迟暮的景象,近年来,哈啰出行等头部企业也不例外,纷纷陷入困境。
行业遇冷之下,占据行业领先地位的哈啰出行也没有独善其身,而是陷入了共享业务亏损的发展困境。尽管为了寻求新的企业发展突破口,哈啰出行在新业务方面开展了诸多探索,但从结果来看,哈啰出行的新业务似乎也没有收获良好的市场反馈。现有业务陷入瓶颈,新业务表现也差强人意,哈啰出行未来的发展走向何方,成为业内普遍关注的问题。
上市计划搁浅,哈啰出行盈利能力备受质疑
从企业的业务结构来看,目前哈啰出行仍然以提供共享单车服务为主。艾瑞咨询数据显示,2020年哈啰出行90%以上的营收和成本都来自自行车和电动自行车的两轮车共享服务。
然而,营收占比较高的共享单车业务却并没有给哈啰出行带来理想盈利。
哈啰出行的招股说明书数据显示,自2018年起,企业就一直处于亏损状态,最高年亏损已经超过20亿,2018年至2020年三年内的累计亏损数额更是已经接近50亿元。
共享业务持续亏损的状况,也昭示着哈啰出行企业的盈利困境,其经营状况实际如何也备受行业内外质疑。
深究哈啰出行共享业务盈利难的原因,很大一部分来自于共享单车行业的模式与特征,导致哈啰企业自身造血功能不足。
首先,共享单车的运营是重资产模式,需要通过实现规模效应抢占市场,这样的经营模式下企业需要承担高额的资源投放成本。其次,大量资源投放带来了较高的设施设备管理费用和研发费用,这进一步压缩了企业的盈利空间。
36氪报道中提出,共享业务经营模式单一,企业盈利难已经是行业共识。当下,共享单车行业步入迟暮之年,过去依赖新兴市场发展的企业自然会受到行业影响,整体发展放缓。
哈啰单车的主营业务受到行业寒潮影响增长乏力,在企业自身造血能力不足的基础上,哈啰单车一旦无法留存更多用户,还将面临更持续的财务压力。
除了哈啰出行企业亏损难停的事实外,目前哈啰出行在资本市场的处境也并不理想。2021年7月日,哈啰出行正式对外表示,哈啰出行已向美国证券交易所委员会发出声明,要求撤回IPO申请。
资本市场风云突变,有投行人士表示,目前国内众多企业上市计划,不排除原本拟赴美上市的企业因迫切的融资需求而转向港股,需要进一步核查公司的盈利状况是否满足上市的诸多要求。哈啰出行上市计划的落水,这让行业重新开始注意到哈啰出行在资本市场的表现。
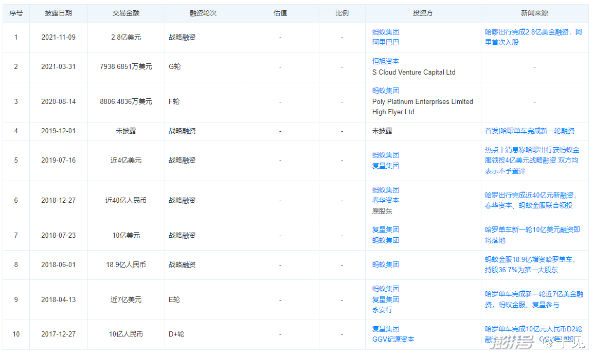
事实上,从天眼查信息来看,哈啰出行的发展,一直都有资本裹挟前行。天眼查信息显示,从2017年12月底到2021年11月共计进行了10轮融资,已披露的融资金额总额超16000亿美元。10轮融资中,蚂蚁集团参与7轮,复星集团、春华资本、恒旭资本相继入局。

从哈啰出行的融资情况来看,目前蚂蚁金服已成为哈啰出行的第一大股东,持有5.84亿股,占比36.3%,哈啰出行在很大程度上依靠着蚂蚁集团“输血”前进,并且自2017年至今,哈啰出行的融资节奏已经很大程度放慢。无论是一家独大的融资格局还是逐渐放缓的融资脚步,目前的哈啰出行在资本市场上的处境都已经不容乐观。
本次上市计划的落水更将引来资本的纷纷侧目,已有分析认为,哈啰取消赴美上市后,可能会急需开展新的融资,以此来填补企业当下面临的资金缺口。
如果出现融资不畅的问题,哈啰出行也可能会被迫采取削减业务规模的举措。未来在资本市场上,哈啰出行的发展更是风雨飘摇。
总的来说,公司主营业务陷入持续亏损的窘境、赴美上市求转机的计划落空,哈啰出行发展之路已经成为了荆棘之路。如何直面盈利能力差的痛点是哈啰出行亟待解决的问题之一,未来市场期待哈啰出行能够深挖企业潜力,展现全新生命力。
新业务板块发展受阻,哈啰出行业务增长点仍需探索
在共享单车无底洞式的投入之下,哈啰出行也不再一味坚持主营的共享单车业务,开始积极布局新业务。据了解,哈啰出行现有业务包括哈啰单车、哈啰助力车、哈啰电动车、小哈换电等两轮出行业务;哈啰顺风车、全网叫车、哈啰打车等四轮出行业务;以及哈啰酒店、到店团购等本地生活服务。目前来看,哈啰出行主要布局的新业务以顺风车业务和本地生活服务两项为主。
不过,在顺风车业务上,已经有滴滴、美团和携程等头部企业盘踞顺风车市场。在滴滴出行APP下架后,美团、高德、嘀嗒出行、首汽约车、曹操出行、T3出行等多方企业开始崛起,哈啰出行面临着更为激烈的市场竞争。
但是,激烈的市场竞争并没有催生出哈啰精湛的业务,反而是哈啰出行的顺风车业务,却收到了用户的广泛吐槽。
各大投诉平台上都有关于司机服务不到位或是客服面对用户问题不作为的投诉。新京报报道,哈啰顺风车人车匹配难,不少用户使用哈啰顺风车时发现,平台车源非常少并且行程能够匹配的成功率很低,常常面临无人接单的问题。更有某用户在黑猫投诉平台指出顺风车司机存在拒绝沟通强迫乘客下车暴力扔行李的无礼行为。

除了受到很多用户投诉之外,顺风车车主也在知乎等平台上指出哈啰顺风车接单的单价很低,单子也少,如果不是极少数的顺路情况,接单根本不赚钱。无论是顺风车乘客还是车主似乎都对哈啰顺风车表示出了自己的不满,长此以往,平台用户逐渐流失,司机留存率直线下降,哈啰顺风车的可持续发展问题堪忧。

另外,资料显示2020年12月,交通运输新业态协同监管部际联席会议办公室组织对哈啰等顺风车平台公司进行提醒式约谈,指出这些平台涉嫌以顺风车名义从事非法网约车业务,存在安全风险隐患。
用户没有得到理想的服务、车主单量难以保证盈利难、安全风险隐患深入人心,哈啰出行的顺风车业务仍然存在很大的优化空间,想要顺利跻身这条竞争激烈的赛道,哈啰顺风车还需克服诸多阻碍。
另外一项积极布局的新业务是哈啰本地生活服务板块。显而易见,哈啰是瞄准了本地生活服务的高利润,想要依靠阿里带来的流量支持来抢占本地生活业务。然而,本地生活服务赛道也是一条十分拥挤的赛道,前有美团和阿里两大巨头对垒,后有抖音原核心团队新组建的本地生活团队虎视眈眈,流量大战之下,哈啰在本地生活服务板块的探索也可谓知易行难。
除了顺风车和本地生活两大板块之外,哈啰还布局了小哈换电、哈啰电动车以及哈啰打车
等业务,在2021年上半年又在哈啰生活的基础上进一步推出了自有品牌住宿业务“哈啰小旅馆”和“哈啰酒店”。但是,这些遍布各处的新业务后期表现如何仍需进一步考量。
综上可见,目前哈啰出行主要推出的两大新业务板块发展受到重重阻碍,其他新布局业务未来如何也尚未可知,在主营业务发展乏力的困境之下,哈啰出行寻求新业务增长点还是道阻且长。未来,期待哈啰出行能够在新业务板块探索上持续发力,为行业带来新的惊喜。
结语
哈啰出行在借助新兴行业飞速崛起后,近五年始终占据着行业头部地位。而今,共享单车行业遇冷,哈啰出行也面临着盈利困境。在行业竞争一片红海的情况下,哈啰出行没有坐以待毙,积极探索新业务板块。只是在这个市场日渐成熟的同时,哈啰如何在重重荆棘中摸索出一条可持续发展的道路,仍然会是一大难题。
无论如何,目前的哈啰出行在我国出行服务行业中仍然占据着领先地位。直面企业发展痛点,全面开展新业务板块布局也将是哈啰出行未来的发展方向,相信哈啰出现能够迎难而上,继续保持昂扬的态势前行。而如果未来的哈啰出行能够将现有的压力转化为动力,破局而出,为我国出行服务行业带来崭新的面貌,也将令人期待。