1小时到不了的淘鲜达 被撕裂的阿里同城零售

图源:IT时报

30秒快读

1.一场酒局,一名女员工举报被侵犯,撕开了阿里承压的超市到家业务——淘鲜达。

2.让阿里人经历羞愧、耻辱的一夜,引发公众对阿里价值观的大辩论,也让人不禁要问:背靠阿里,在手机淘宝App首页拥有与天猫超市、天猫国际等同等入口地位的淘鲜达,为何还要急迫地去讨好一家区域零售商?答案或许在细节中。

3.即使成立于2017年,淘鲜达仍然是个“小透明”,不少被访者均表示,从未听说过此项服务,而《IT时报》记者多日调查后发现,号称一小时达的淘鲜达,常常因为无人配送而变成半日达、次日达甚至永远送不达。和自己的“兄弟”饿了么相比,淘鲜达合作的商家数量和服务质量,都难言令人满意。

今年7月,淘鲜达曾迎来一次改变的机会。阿里调整组织架构,将基于地理位置服务的三大业务,即高德、本地生活和飞猪组成生活服务板块,由俞永福代表集团分管,而原本负责包括淘鲜达在内的同城零售事业群的李永和,担任其中的本地生活事业群总裁。这意味着,原本业务有部分重合的同城零售和本地生活有望摊降成本、共享资源。

此事发酵数日后,李永和(老鼎)引咎辞职,俞永福紧急接手。然而,阿里对本地生活业务的整合是否再度调整?被“丑闻”撕裂的同城零售团队,又要如何缝补这道阿里价值观与商业利益间的认知裂缝?

曾经的1号工程,阿里的难以承受之重。

图源:IT时报

01 记者调查 “一小时达不了”的淘鲜达

打开手机淘宝,淘鲜达占据着宝贵的首页入口,点击进入,“30分钟达”“一小时达”的宣传语挂在醒目的位置。即时配送,这是淘鲜达为线上用户和线下商超牵起的“红线”,可现实中,却可能是半日达、一日达,甚至永远不达。

图源:淘鲜达

今年4月22日,苏宁旗下商超家乐福入驻淘鲜达。2021年上半年,经历生死竞速后,苏宁董事长张近东辞职,大润发原董事长兼CEO黄明端出任苏宁董事长。家乐福也因此和大润发、盒马一起,成为用户在淘鲜达中的可选项。

8月初的某个工作日16点,《IT时报》记者来到上海南部一家家乐福超市的到家服务拣货仓库,墙上的屏幕中滚动苏宁作业监控雷达信息,左侧是待拣选单,来自饿了么、美团、苏宁易购和淘鲜达,右侧是待接订单,除了一单之外,全是淘鲜达,最早的一单期望送达时间为9:45。

T代表淘鲜达、YD代表苏宁易购、E代表饿了么,M代表美团 图源:IT时报

“冷柜里还有三单也是淘鲜达的,滞留最久的是昨天的单子。”仓库拣货员指着一旁的冷柜对记者说道。

图源:IT时报

这并非偶然。采访中,理货员向记者吐槽,号称一小时达的淘鲜达,常常因为无人配送变成半日达、次日达,或者直接被取消。

7月24日、25日,“烟花”来袭,淘鲜达来的订单几乎都没人送,冷柜和架子都被塞满了。该家乐福电商部负责人李明(化名)清楚记得,25日那天,淘鲜达共收到30个订单,22单都做了退单处理,平时,十几单中也得退个四五单。送不掉的订单只能拆掉包装放回原位,而一些不能二次销售的生鲜,超市只能向平台报餐损,由平台补偿实际销售额。

“给我们增加了不少工作量。”李明抱怨,自从接入淘鲜达以来,超市的客户投诉率直线上升。

02 多出来的“尴尬两公里”

为何骑手如此“不待见”淘鲜达?当“系统”对骑手的每一秒都算得清清楚楚时,淘鲜达的“一小时达”又为何会出现如此大的时效偏差?

“3公里外的订单配送不合算。”多位家乐福和大润发的淘鲜达配送人员告诉记者,和饿了么、美团和苏宁易购主打3公里配送不同,淘鲜达的配送范围是5公里。

骑手在超市拣货仓库取货中,用户买的常是食用油等大件 图源:IT时报

“5公里送一趟,有时候来回超过1个小时,买的常常是大桶水、食用油这些,爬个楼难免会延迟。”一位家乐福的淘鲜达骑手对《IT时报》记者表示,淘鲜达、饿了么到家的订单都会出现在饿了么配送系统里,和普通外卖单一起分配,所以他们常常会在3公里内同时送超市到家单和外卖单,但现在淘鲜达多出的两公里范围,拉长了他的整个配送时间,却没有额外奖励。

正因如此,骑手往往不愿接淘鲜达订单。如果被站长直接分配,由于不像饿了么外卖单有明确的奖惩机制,延时配送、拒绝配送,便成为骑手不得已时的“沉默反抗”。

“有时骑手不想来取货,就跟用户谎称是超市退货了。”家乐福工作人员对此也颇为无奈。

家乐福员工分拣打包中,图源:IT时报

尴尬两公里背后,是阿里多年本地生活领域割裂的印证。2020年4月前,阿里线下新零售分为两个版块:同城零售和本地生活。据《晚点》报道,在阿里内部,有“区域零售、本地零售、同城零售”的说法,分别对应全国范围的淘宝天猫、以人为中心3公里范围的本地生活以及以城市为单位的同城零售事业群。

两项业务,一个出发点是人,另一个出发点是城市,必然在商业逻辑上有根本不同。

如今,当阿里要基于地理位置服务(LBS)将其整合时,产生的不适感会传导至每一个执行者身上。至少从目前来看,两者的磨合还在继续中。

03 难复制的大润发

目前,阿里“到家”服务能够彻底改造的只有阿里系商超,而在物流上不惜成本地配置专送团队的,有且只有大润发、盒马这些“亲儿子们”。

跟“新人”家乐福相比,大润发是淘鲜达上的“老人”。离家乐福不远的一家大润发里,到处悬挂着“一小时达”的红色广告标语,店门口是清一色的蓝色大润发淘鲜达专属配送团队。

图源:IT时报

大润发完全复制了盒马式自动拣货系统,每个超市区域内的工作人员将自己所在区域的商品放到相应的订单编号包里,由空中传送链条集中传到拣货仓库进行打包,再由专属配送员配送。

图源:IT时报

物流投入也是“大手笔”,据该大润发新零售负责人透露,大润发会承包所在区域的一个饿了么站点,该站点外卖员只配送大润发的到家单,包括淘鲜达、饿了么等平台,不能接“私活”。

一位大润发骑手告诉《IT时报》记者:“一个站点分为两个配送团队,我们团队一共48人,服务5公里内的西片区和北片区,另一个团队是东片区和南片区。淘鲜达的单量相对稳定,全职配送员月收入在一万元左右。”

如果据此计算,一个大润发大型超市需要配备近百名专职骑手,每月支出的配送费接近100万元。

大润发母公司高鑫零售2020年全年财报显示,大润发线上店在一线城市日均单量超2000单,而到了2021年第一季度,所有一小时达业务的店日均单量已近1100单,客单价为人民币68元。

以《IT时报》记者所在的上海为例,按店日均单量2000单,客单价68元计算,淘鲜达“一小时达”月销售额为 408万元。按照前文百万元配送费计算,淘鲜达业务的配送费占该业务销售额的25%,但实体零售渠道利润微薄,高鑫零售(大润发+欧尚)2020年毛利率只有25.5%。

更何况,阿里控股的高鑫零售,已经和阿里零售系统深度整合了供应链,其他入驻淘鲜达的商超难以复制,因此配送成本可能更高。据记者了解,除“一小时达”外,大润发还会承接天猫超市半日达的供给,统一打包后交由司机运到15公里内的相应配送站点,但这并不能分担一小时达的配送成本。

# 深度阅读 #

淘鲜达的“内忧外患”

2017年,淘鲜达上线,比阿里“宠儿”盒马还早两年。然而,4年过去,零售圈内鲜有人知其存在,多位提供到家服务的圈内人直言,此前从未听说阿里有此项服务,用户更难厘清淘鲜达与饿了么到家、盒马以及天猫超市的区别。

淘鲜达是阿里在提出新零售概念后,为线下商超提供的在线服务,让用户在家便可以购买附近商超的商品,并提出“一小时达”的口号。简而言之,是商超版“外卖”。

上线4年,淘鲜达始终占据淘宝入口位置,但发展状况却十分尴尬。外部,在与京东到家、美团闪购正面竞争中式微,内部,与饿了么到家业务有交叉,合作商户数量远不及“兄弟”。

综合多方数据显示,截至2021年3月,本地零售商超O2O中,京东到家以25%的市场份额位列第一,上线11万家门店,覆盖超1500个县区市,年成交额超280亿元。美团闪购有小几十万家门店,2019年年成交额已达几百亿元。饿了么在2020年双11披露,全国有近800家连锁商超的4万家门店上线。

淘鲜达呢?艾瑞咨询数据显示,截至2021年3月31日,淘鲜达平台有超过50家的线下零售商入驻,上线2500多家门店,覆盖全国近250个城市。即便是合作商超,也大多是阿里入股或收购的线下商超,比如高鑫零售(大润发+欧尚)、盒马以及和苏宁易购一起进入阿里系的家乐福。

公开数据显示,截至2020年,淘鲜达合作的门店中,高鑫零售门店484家、家乐福门店215家、盒马门店227家、三江购物门店214家、新华都门店81家,这5家实体零售商的门店数量超过1200,占合作门店数量近一半。

留给淘鲜达和阿里同城零售的时间不多了。2020年百强超市中,77家已入驻京东到家。

淘鲜达在未来还能有一席之地吗?

阿里董事会主席兼CEO张勇在8月3日的分析师电话会议上披露,饿了么将成为本地服务“到家”的主要用户入口。饿了么到家利用其强大的地推能力,正在迅速与中小型的零售商合作,并拓展了不少大型商超。

另一个难以跨越的门槛是系统。

据了解,中百仓储、华冠、永旺、卜蜂莲花、农工商超市等近30家大中型连锁超市已经部署了京东到家的海博系统,占超市百强商家中的四成。多位实体零售商和中台系统供应商向《IT时报》记者透露,这套系统不仅有对实体商超线上化的商业盈利点,也能掌握各个平台的单量,并且要与其他平台的物流系统对接以方便派单。

这意味着,如果这些非淘系超市和淘鲜达合作,销售数据很可能进入京东到家的系统,想想当年菜鸟和顺丰因为彼此不开放数据而引发的“断网之争”,便可知,这是淘鲜达难以接受的现状。

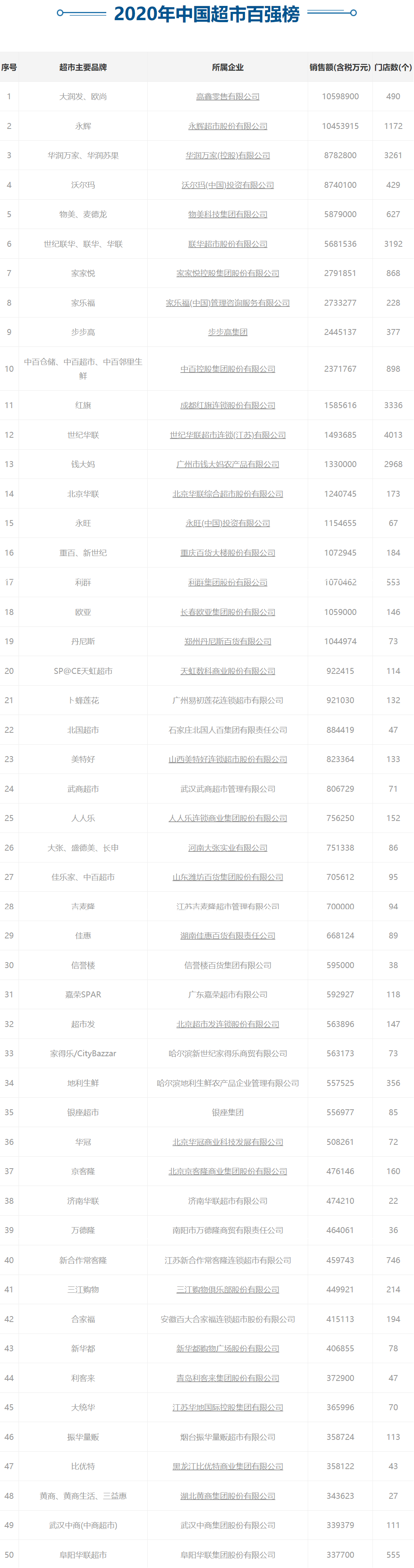
或许正因如此,对于淘鲜达来说,济南华联超市便显得格外重要。

图源:中国连锁经营协会

在超市百强榜上,济南华联超市以47.42亿的销售额排名第38位。“济南华联超市”在其公众号披露,旗下共有21家线下超市及75家便利店,是盘踞在区域市场的龙头级商超。如果这笔合作谈成,济南华联96家超市便利店顺利入驻淘鲜达,可以为整体门店数量带来3.7%的增长。

靠整合阿里系资源撑了上半场的淘鲜达,下半场迫切需要争取更多第二梯队的实体零售商入驻。

难言的同城零售整合

阿里同城零售布局庞杂。多年内部孵化和外部收购之后,阿里本地生活版块一直无太大起色,业务重叠,资源和市场缺乏协同,甚至存在变相竞争,阿里对此多次进行架构调整。

2020年4月,阿里巴巴将天猫超市事业群升级为同城零售事业群,高鑫零售(大润发+欧尚)、盒马、天猫超市、淘鲜达(猫超供应链+饿了么商超零售业务)隶属此体系,但与以“饿了么+口碑+支付宝”为代表的本地生活事业群如何融合,在调整之初便被认为是个难题。

今年7月,阿里再次调整架构,淘鲜达与本地生活新零售业务从同城零售事业部中分拆,由李永和负责并向俞永福汇报,但李永和同时担任本地生活事业群总裁,这是阿里在线下“近商”市场向美团再次发起的进攻。

最理想状态是,阿里生态中所有线上电商业务,打通供应链和物流,以时间为分水岭,分别半日达、次日达和三日达,分别由天猫超市、社区团购淘宝买菜和淘宝来承接,而线下新零售业务,则可以加速同城零售,分别由盒马、淘鲜达、饿了么承接半小时达和一小时达的即时配送。

之所以迟迟未能顺利整合,一方面是与阿里内部庞杂的体系有关,跨事业部的业务融合,在任何一个巨型企业中都是难题。另一方面,配送体系太不给力。2020年8月,菜鸟为同城零售事业群组建了独立的配送品牌“菜鸟直送”,整合了丹鸟、点我达和蓝豚三个团队,全国3000个站点,覆盖350个城市,配送运力池达400万以上。

可尽管想象空间很大,从淘鲜达的物流配置来看,“菜鸟直送”并未与同城零售深度融合,目前一小时达的配送主要靠饿了么旗下蜂鸟团队来承接。

大润发淘鲜达专属配送团队用得是蜂鸟团队版App 图源:IT时报

更重要的是,同城零售商品大量涉及生鲜,更仰赖于区域供应商自己的供应链资源,可到了最后一公里,大部分实体商超并没有能力自建具备冷链能力的物流配送团队,而阿里系的同城配送团队,并不具备这样的能力。从消费者体验端来看,其体验远不及社区团购的小巨头——叮咚买菜的生鲜配送。

不客气地说,想做好“一小时达”,在冷链配送领域,阿里的基础设施都还没做好,即便饿了么对标的美团,通过美团买菜也早已开始布局。

如今,李永和“挂靴”,谁来推动阿里补上短板?

记者手记:阿里的燃眉之急

8月9日,阿里巴巴董事局主席、CEO张勇在内网公布了“女员工举报被侵犯”的阶段性内部调查结果和处理决定:同城零售事业群总裁李永和和HRG徐昆引咎辞职,阿里巴巴首席人力资源官童文红记过处分,涉嫌男员工被辞退,永不录用。

本地生活的燃眉之急似乎是痛失主帅李永和,但阿里从来不缺人,更大的沉疴则是航母的内耗。

李永和熟悉物流和采销体系,从京东跳槽至阿里后,出任张勇特助,一直被视为是张勇的“左膀右臂”。此次事件爆发之前,李永和刚从天猫超市事业群总裁,升职为本地生活事业群总裁。

当天猫淘宝事业群总裁蒋凡深陷淘系网红张大奕的桃色绯闻后,得到的处分只是取消阿里合伙人身份、记过处分、降级以及取消上一财年所有奖励,被网友称为“自罚三杯”。可舍不得斩爱将的张勇用一句“谁都知道更简单的决定是什么,但我们毕竟还是个商业组织”回应了内部质疑。

然而,当网络上“阿里女员工举报被侵犯”事件成为热搜,钉钉P9代考事件、抢月饼被开除事件与蒋凡事件一并被重提,“低P碰红线,低P没了;高P碰红线,红线没了”的阿里价值观大辩论重燃,张勇承受的内外部舆论压力可想而知。

李永和没有被留下,最新消息是,俞永福紧急接手本地生活事业群。

阿里同城零售事业群2020年内部定下的目标相当激进——实现成交额翻7倍。挥刀斩主帅后,张勇要如何在短时间内重整团队,带着这“1号工程”往前跑?

即便阿里价值观真的失效了,也不是张勇的燃眉之急,毕竟这是一个长期工程。张勇要治愈仍是阿里内部业务无法有机整合的内耗。

于内部而言,当年阿里投的易果生鲜与盒马的生鲜供应链交叉竞争,落得破产结局可以体面地说为盒马做了嫁衣。但于外部而言,从聚划算到淘宝特价版,再到1688转型,阿里在下沉市场无法有效整合的后果是,遭遇拼多多的正面竞争。

如今,阿里将美团视为“最强劲对手”,可如何解决小到无法一小时达的淘鲜达订单,大到整个同城零售的物流与供应链整合,才是张勇“1号工程”的燃眉之急。

作者/IT时报见习记者 江丽雯 记者 孙妍

编辑/郝俊慧 挨踢妹

排版/季嘉颖

图片/IT时报 网络

来源/《IT时报》公众号vittimes