原创 林天鸣 投资家

来源 | 投资家(ID:touzijias)
作者 | 林天鸣
人们常说:“垃圾是放错地方的资源”。
这话确实不假。这不,有人就靠“收垃圾”搞出了一个IPO,即将坐拥一家上市公司。
投资家网获悉,二手消费电子产品交易和服务平台万物新生集团(爱回收)正式向美国证券交易委员会递交IPO招股书,拟于纽交所上市,股票代码为RERE。承销商包括高盛、美银、华兴资本、国泰君安、里昂证券以及老虎证券。

一
爱回收是二手电商赛道走出来了一家独角兽企业。
公开资料显示,爱回收成立于2011年,隶属于上海万物新生环保科技集团有限公司,万物新生集团旗下拥有爱回收、拍机堂、拍拍等二手3C产品回收、交易和零售平台,以及面向海外的二手交易平台AHS Device。
爱回收的背后,是一个80后复旦学霸的创业故事。爱回收创始人陈雪峰,1980后出生于湖北黄石,本科就读于同济大学,之后又取得复旦大学计算机系硕士学位,是大家眼中的学霸。

值得一提的是,在此期间,陈雪峰就开始尝试创业,于2008年前后创办了一家以物换物的C2C平台乐易网。据说陈雪峰是受美国一位小伙“别针换别墅”的启发,创办了这家公司。
乐易网还曾参与复旦大学2010年聚劲杯创业大赛,荣获3等奖,还获得10万元的创业扶持资金。
兼职做了两年之后,陈雪峰决定辞去技术经理工作,全身心投入到乐易网的运营当中。彼时,公司主要员工均来自于复旦大学,可以说这是一个由复旦学霸团队搭建起来的创业项目。
然而,当陈雪峰决定将乐易网推向市场的时候,却遇到了前所未有的困难,项目失败一度让团队濒临解散,也让陈雪峰冷静下来重新思考。
认真复盘后,陈雪峰得出结论,乐易网偏技术化,推向市场时效果不够理想,于是次年他将乐易网改名为爱回收,转型做起了二手手机回收业务。

在电子产品更新迭代越来越快的背景下,淘汰下来的二手产品似乎变成了生活中的“垃圾”。然而,二手手机并非毫无用处,通过适当处理可以“变废为宝”,甚至翻新后重新出售。
陈雪峰正是从中嗅到商机,才决定将乐易网改名为爱回收,转型做起了二手手机业务。这一次,陈雪峰和爱回收都没有选错。
二
选对了方向只是第一步,爱回收的发展壮大还离不开各路明星资本的支持。
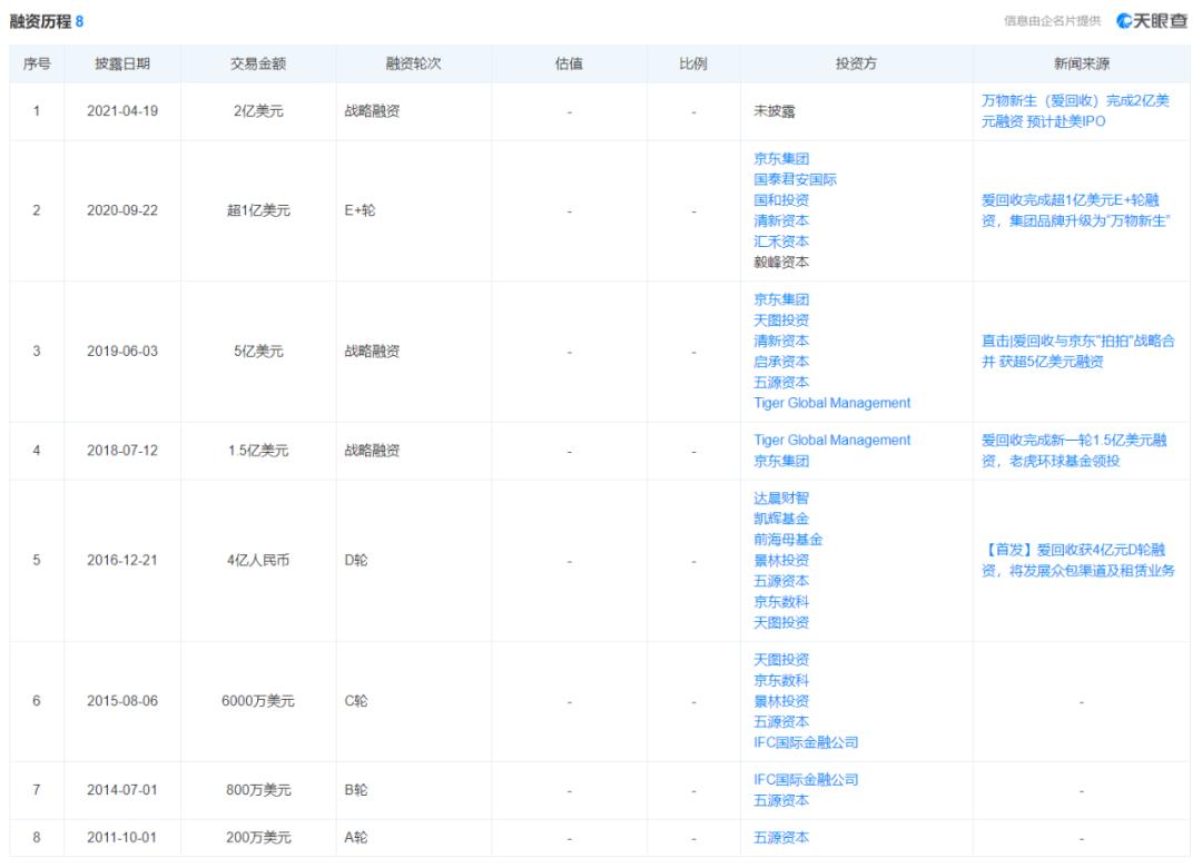
天眼查显示,从2011年至2021年,爱回收累计完成8轮融资,融资金额接近70亿人民币,投资方包括五源资本、天图投资、京东集团、前海母基金、景林投资、达晨财智、清新资本、启承资本、国泰君安国际、国和投资、汇禾资本、毅峰资本、Tiger Global Management等。

此外,天图资本和Tiger Global Management(老虎环球基金)对万物新生集团分别持股8.5%和7.3%。
回顾爱回收的融资历史可以发现,京东集团从C轮开始注资爱回收,此后累计参与5轮融资,其中有2轮作为领投方,对爱回收可谓“爱得深沉”。
其实,京东集团对爱回收的垂爱,不仅体现在资本层面,还体现在业务层面,爱回收一路走到IPO阶段,刘强东堪称背后的“关键先生”。

2019年6月,爱回收斥资收购京东集团旗下二手交易平台拍拍,补充了自身的B2C业务。
除了拍拍的有形资产和无形资产,爱回收还从京东集团收到2100万美元的净现金;作为对价,爱回收向京东集团发行了约2750万股E类系列优先股。
此外,爱回收与京东集团又签订了一份为期五年的业务合作协议,合作内容涵盖用户流量、营销、研发、佣金分成、供应链和物流、客户服务和售后服务等多个方面。
通过深入合作,爱回收与京东集团之间实现深度捆绑。在业务层面最直接的体现是,京东平台上的以旧换新服务,都由爱回收来提供服务。
2019年8月,京东集团进一步授权爱回收门店使用京东手机品牌。2020年,京东集团又向爱回收转让了几个品牌名称,其中包括其目前正在使用的“万物新生”品牌。
在万物新生集团的管理层,也能看到与京东有关的身影。如公司董事兼总裁王永良,自2008年7月起至担任京东拍拍业务高级总监,直到2019年6月加入万物新生集团。
而万物新生集团董事会中的徐雷和唐伟,目前分别是京东零售首席执行官和京东物流客户服务中心负责人。
可以说,无论从业务层面还是资本层面,万物新生集团都和京东集团捆绑的十分紧密。如果万物新生集团成功赴美IPO,陪跑多年的刘强东或将成为最大赢家。
三
伴随招股书的披露,万物新生集团也卸下了神秘面纱,毫无保留地展现于公众眼前。
截至2021年3月31日,万物新生集团在全国172座城市开设了755家门店和超过1500个自助服务站,其中包括753家爱回收门店,2家拍拍门店。

2020年及2021年一季度,万物新生集团共交易了约2360万和640万件消费品,同比增长48.4%、68.4%。同期,万物新生集团实现的GMV(总成交额)分别为196亿元、62亿元,同比增长60.7%、106.7%。
根据市场研究公司CIC(灼识咨询)的报告,按交易设备数量计算,万物新生集团2020年在二手3C交易和服务领域的市场份额约为8.7%,高于中国接下来五家公司合计拥有的约4.4%的市场份额,成为中国最大的二手消费电子产品交易和服务平台。

2019年、2020年及2021年第一季度,万物新生集团的营收分别为39.31亿元、48.58亿元和15.14亿元。其中,来自产品的收入是万物新生集团最核心的收入,不过占比已经从2018年的99.6%降至2020年的87.4%。

不过,万物新生集团目前仍处于亏损状态。2018年至2021年前三个月,万物新生集团净亏损分别为2.079亿元、7.049亿元、4.706亿元和9480万元,调整后净亏损分别为2.1亿元、5.384亿元、2.028亿元和3640万元。

早在2016年,陈雪峰就算过一笔账:“爱回收一家简易门店的一次性硬件投入为7万元,含员工公司在内每个月运营成本约3万元。不考虑房租上涨及线下推广等情况,仅现有门店的每年运营成本均需超过2.16亿元。”
若以此标准估算,爱回收目前在全国开设755家门店,仅门店运营成本,一年最少砸进去2.7亿元。再加上1500个自助服务站,运营成本还会增加不少。
四
爱回收赴美IPO的背后,是方兴未艾的二手电商市场。
据Mob Data研究院数据,2020年中国二手闲置年交易额已达到12540亿,二手电商用户突破了1.8亿人,在闲置市场中的渗透率也提高到了36%。
另据《2020年度中国二手电商市场数据报告》显示,2020年国内二手电商市场规模3754.5亿元,同比上升了44.22%。
具体到爱回收所在的二手电子产品交易赛道,据CIC报告显示,中国二手3C电子产品预计到2025年交易量有望达到5.46亿台次,这将是一个千亿级规模的细分市场。
在这个千亿大蛋糕面前,爱回收的竞争对手也不少。除了闲鱼、转转等头部玩家外,二手电子产品交易赛道上也涌现了不少玩家,如回收宝、闪回收、爱换机、乐回收和易机网等。

2020年末,阿里宣布,未来三年闲鱼将在全国20个城市建立闲鱼基地,并将闲鱼小站布局到50个以上城市,闲鱼集市也将推广到30个城市。此举或将进一步争夺爱回收的线下流量。
竞争对手林立,爱回收的流量不容乐观。比达数据显示,2021年3月,二手电商APP月活跃用户数中,闲鱼与转转分别为5734万人与1461万人,爱回收仅为51万,远不及闲鱼与转转。

此前,陈雪峰曾明确表示,40亿美元到50亿美元的估值将是公司进行IPO的基本线。如此看来,万物新生集团当前估值至少达到40亿美元,折合人民币约250亿元。
虽然贵为行业独角兽,爱回收依然面临着二手交易行业难以避免的通病。在网络维权平台黑猫投诉上,关于爱回收的投诉多达上千条,涉及恶意压价、质量不过关、客服服务态度差等。

原标题:《复旦学霸“收垃圾”搞出一个IPO,刘强东是最大赢家》